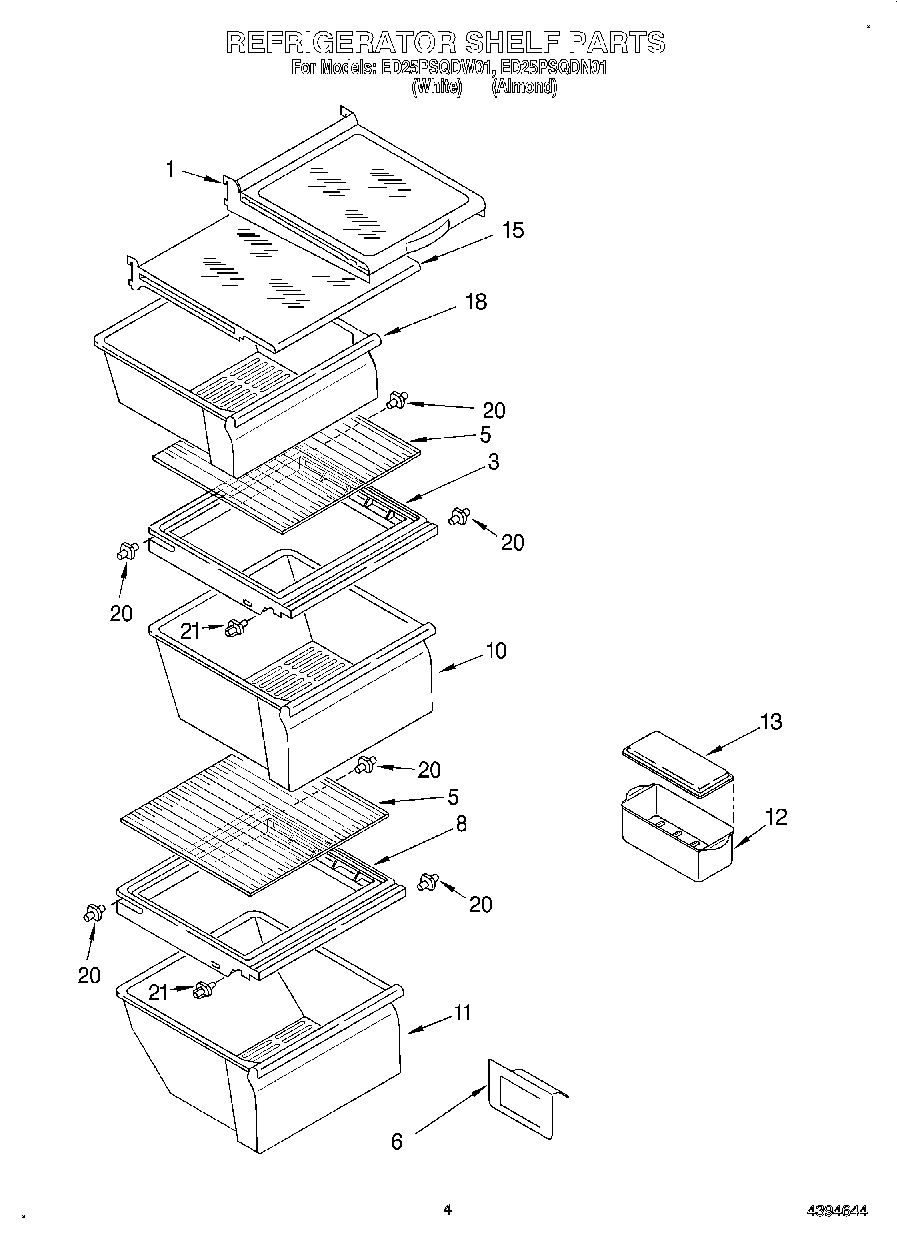
ED25PSQDN01 03 – REFRIGERATOR SHELFadmin2025-04-26T09:50:37+00:00ED25PSQDN01 03 – REFRIGERATOR SHELF ProductsPositionProduct1Shelf, Cantilever (2)5W10864399 Whirlpool Glass Shelf62179350 Whirlpool Refrigerator Deflector8W10508993 Whirlpool Refrigerator Cover Pan10WP2188661 Whirlpool Crisper Pan11WP2188664 Whirlpool Dishwasher Meat Crisper Pan12W10136387A Whirlpool Refrigerator Egg Container13Cover15Shelf, Snack Bin18W11497323 Whirlpool Snack Pan204388538 Whirlpool Refrigerator Stud Shelf Kit (White)214388539 Whirlpool Refrigerator Shelf Stud