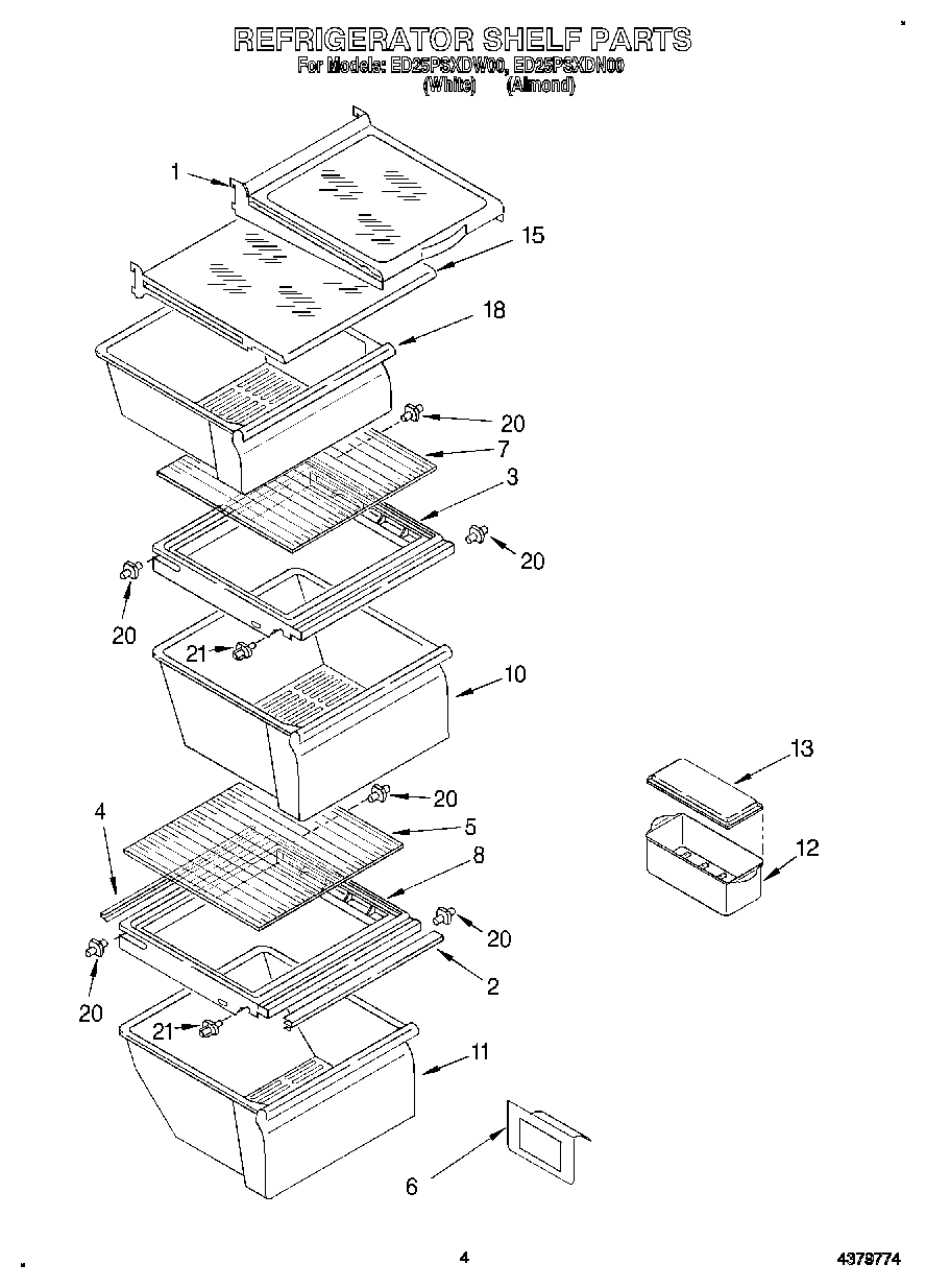
ED25PSXDN00 03 – REFRIGERATOR SHELF