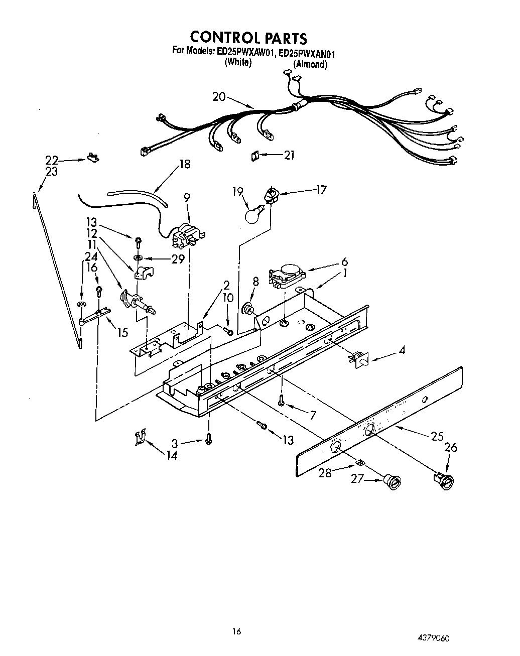
ED25PWXAW01 11 – CONTROL