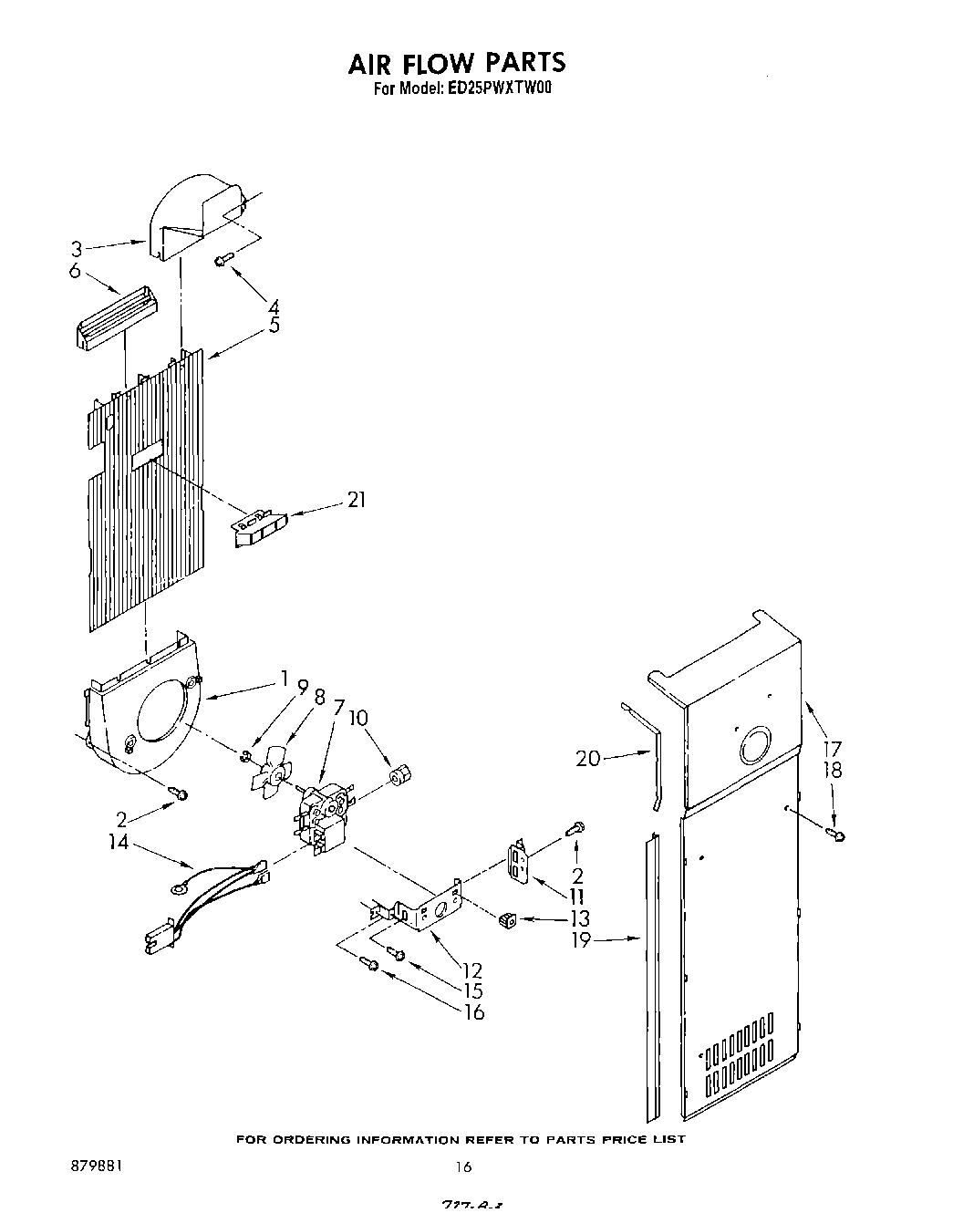
ED25PWXTG00 11 – AIR FLOWadmin2025-04-26T09:50:43+00:00ED25PWXTG00 11 – AIR FLOW ProductsPositionProduct1Fan Scroll2W11624204 Whirlpool Screw3Air Scoop4WP488729 Whirlpool Refrigerator Door Screw5Air Duct Freezer6Diffuser Air Duct7482469 Whirlpool Refrigerator Evaporator Fan Motor Kit8Blade, Fan9Ring, Compression10Grommet (3)11Fan, Bracket Double12Bracket, Fan Mounting (Single)13Screw Grommet14Fan Motor, Harness15WP489128 Whirlpool Refrigerator Screw16WP489069 Whirlpool Compactor Screw17Cover, Evaporator19Gasket, Evaporator Cover (2)20Gasket, Evaporator Cover Top (2)212182146 Whirlpool Refrigerator Duct