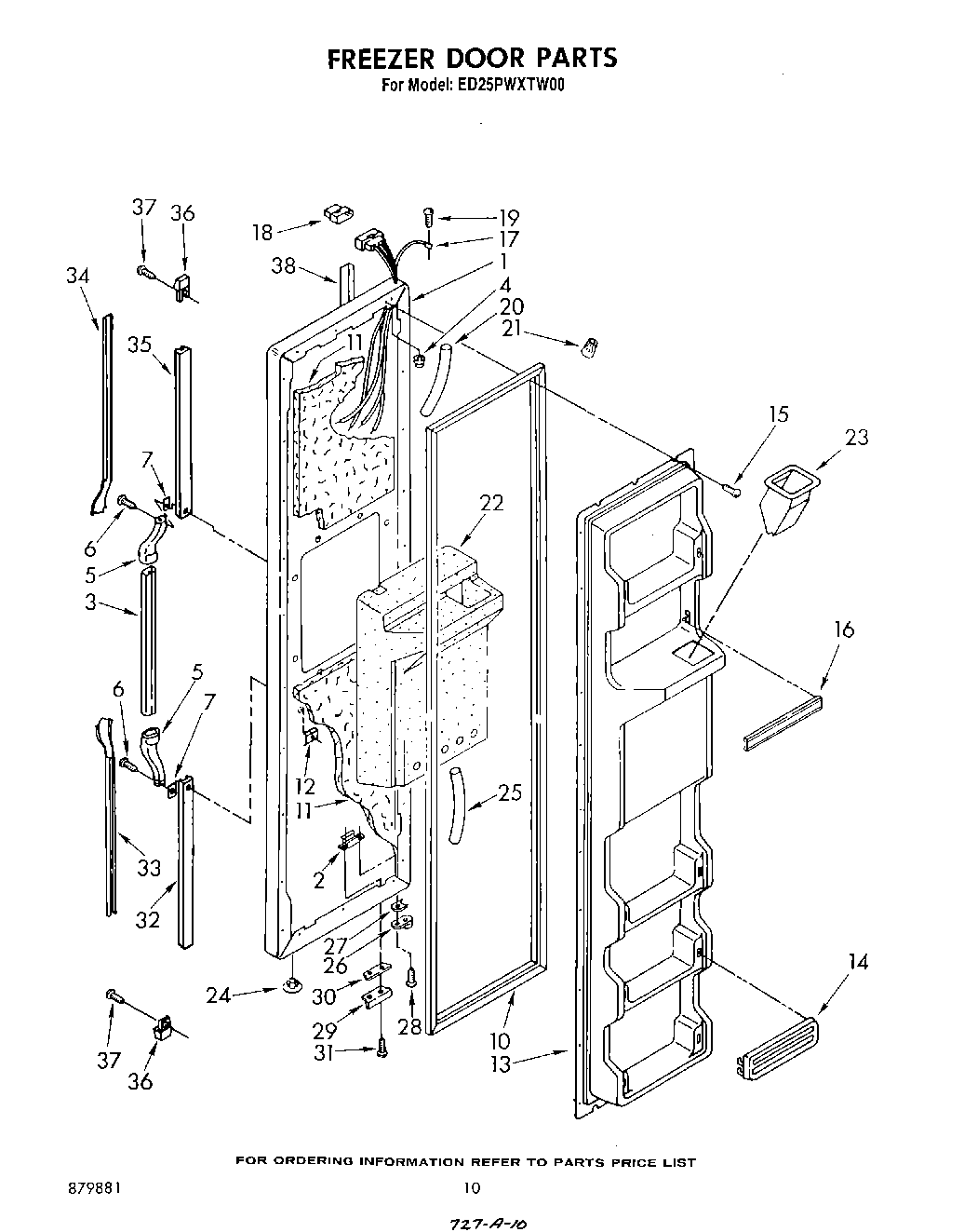
ED25PWXTW00 08 – FREEZER DOOR