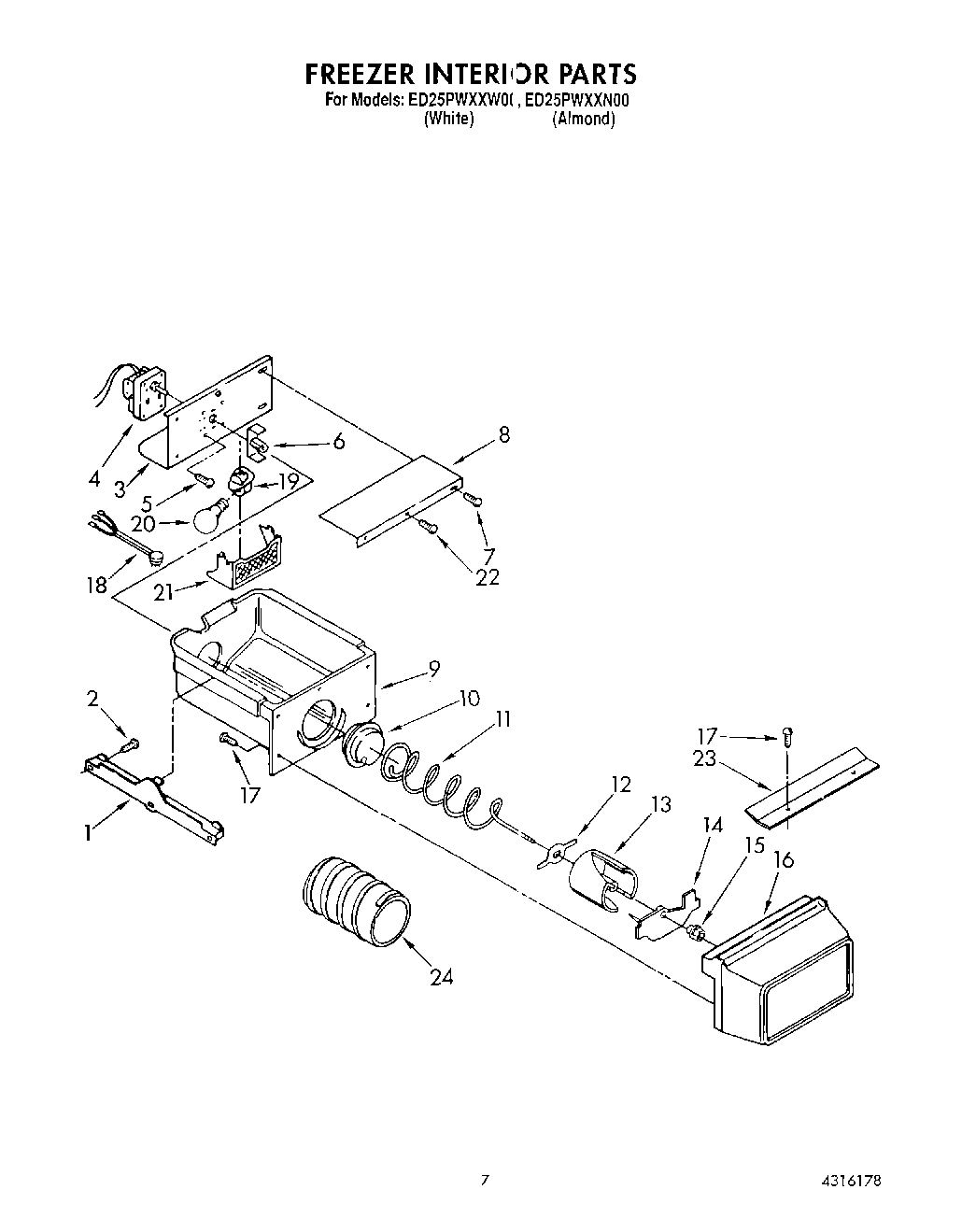
ED25PWXXN00 05 – FREEZER INTERIOR