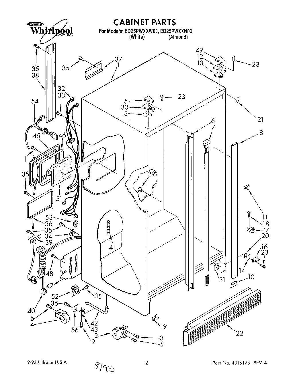
ED25PWXXW00 01 – CABINET