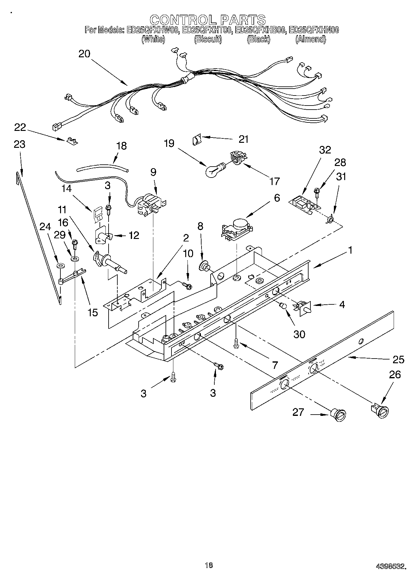
ED25QFXHN00 11 – CONTROL