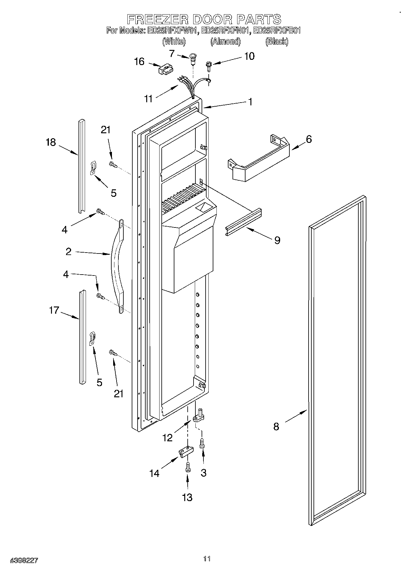
ED25RFXFN01 07 – FREEZER DOOR