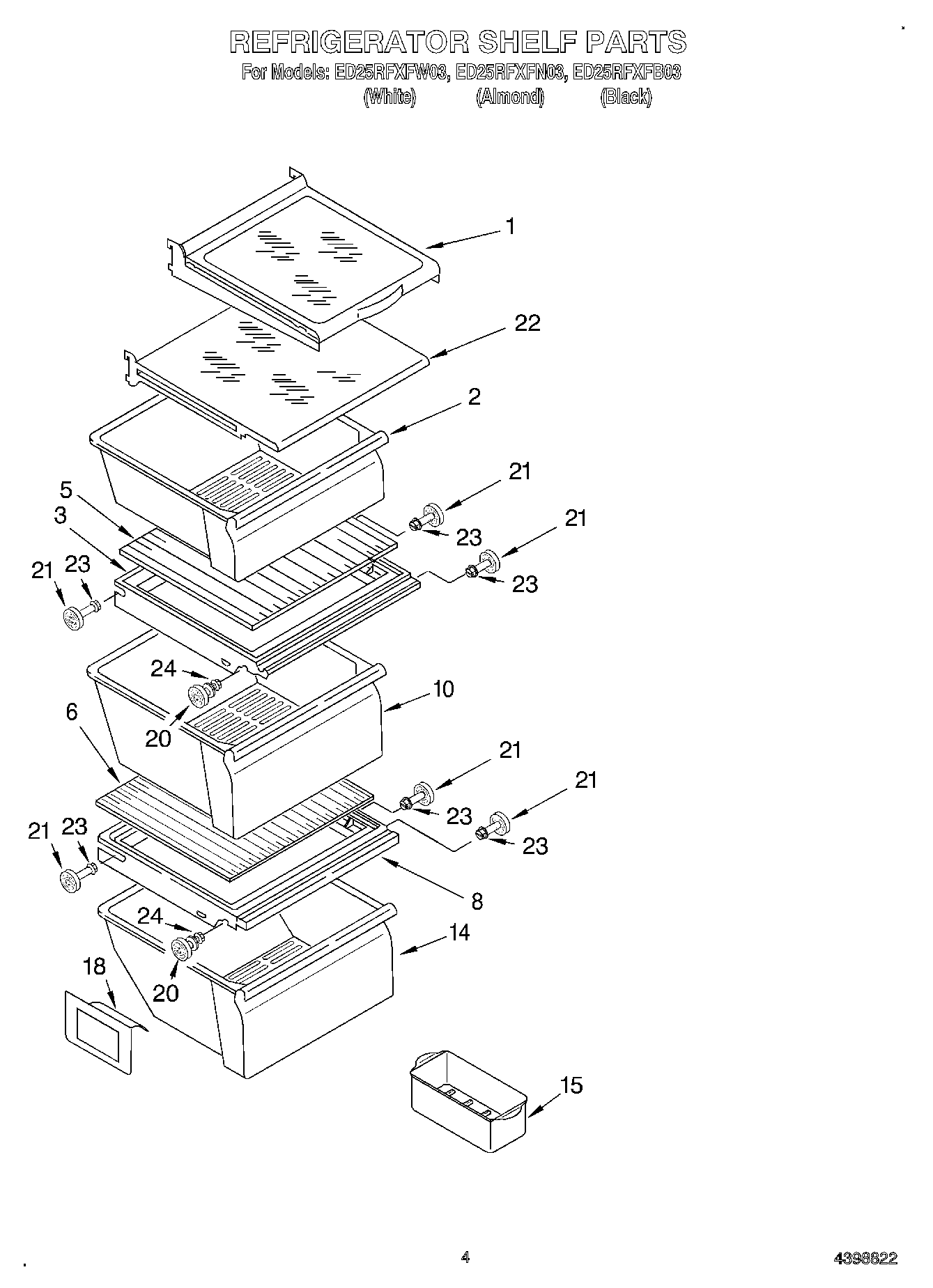
ED25RFXFW03 03 – REFRIGERATOR SHELFadmin2025-04-26T09:50:39+00:00ED25RFXFW03 03 – REFRIGERATOR SHELF ProductsPositionProduct1Shelf Assembly, Cantilever (2)2W11497323 Whirlpool Snack Pan5W10864399 Whirlpool Glass Shelf8W10508993 Whirlpool Refrigerator Cover Pan10WP2188661 Whirlpool Crisper Pan14WP2188664 Whirlpool Dishwasher Meat Crisper Pan15W10136387A Whirlpool Refrigerator Egg Container182179350 Whirlpool Refrigerator Deflector20W11223328 Whirlpool Refrigerator Shelf Stud21WP2196483 Whirlpool Refrigerator Shelf Stud22Shelf, Snack Bin23WP3400806 Whirlpool Screw24WP3-24004-109 Whirlpool Refrigerator Screw