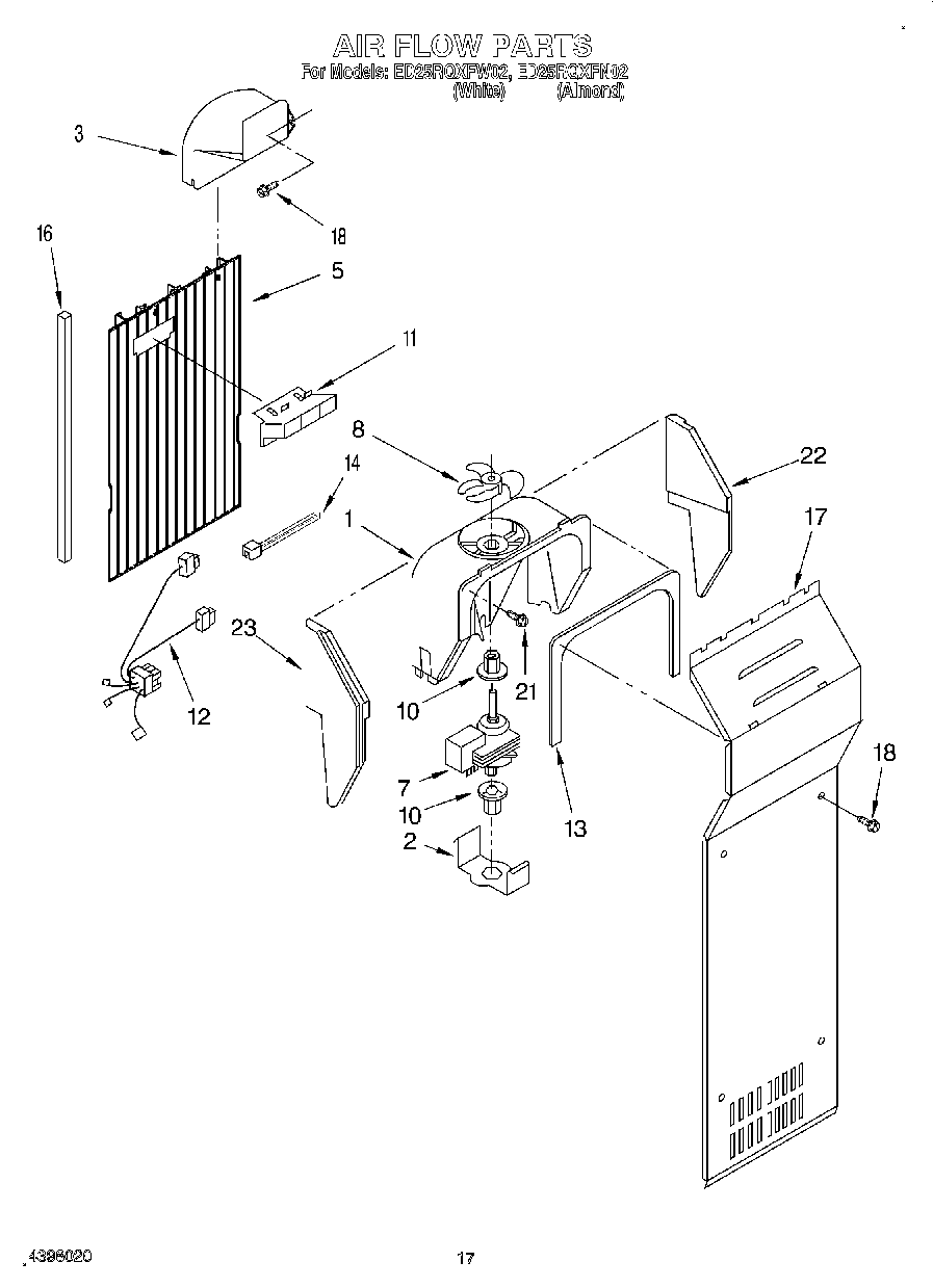
ED25RQXFW02 10 – AIR FLOW