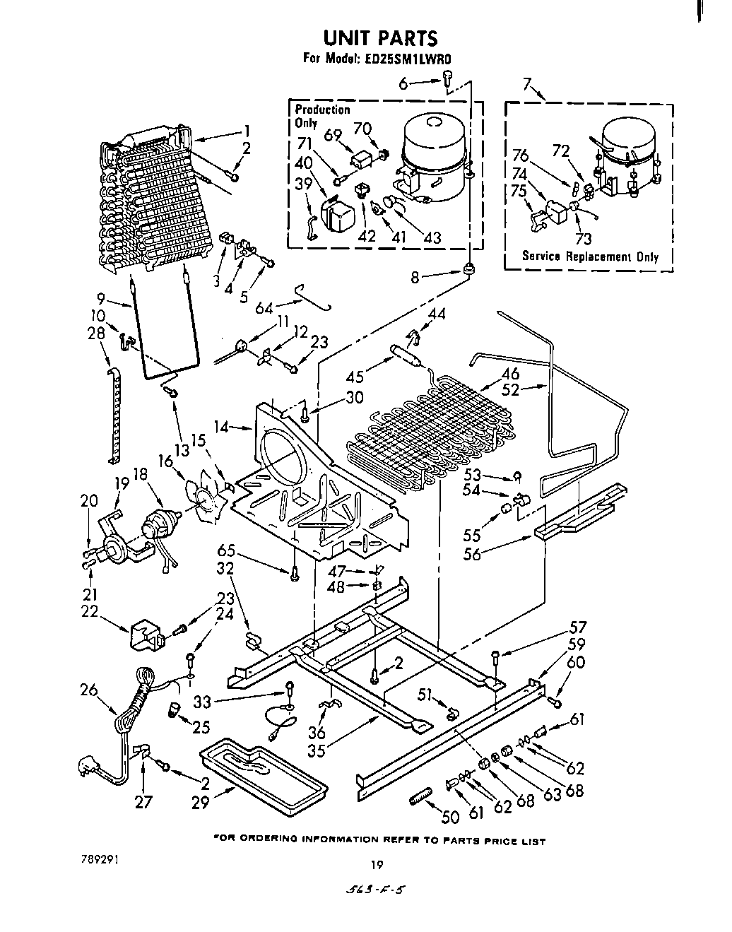
| 1 | Evaporator |
| 2 | W11624204 Whirlpool Screw |
| 3 | Grommet, Screw |
| 4 | Support, Evaporator |
| 5 | SCREW |
| 7 | Compressor Kit (Includes, Items 72, 73, 74, 75 & 76) (Also Order 876765 Tube Kit) |
| 8 | 876811 Whirlpool Grommet |
| 9 | Heater, Defrost |
| 10 | Clamp, Evaporator |
| 11 | WP4387489 Whirlpool Refrigerator Bi-Metal Defrost Thermostat |
| 12 | Clamp |
| 13 | W11693756 Whirlpool Screw Assembly |
| 14 | Baffle, Air |
| 15 | WP486692 Whirlpool Refrigerator Nut |
| 16 | Fan, Blade |
| 18 | 833697 Whirlpool Condenser Fan Motor |
| 19 | Bracket, Motor |
| 20 | 681390 Whirlpool Refrigerator Screw |
| 22 | Box, Junction |
| 23 | WP488729 Whirlpool Refrigerator Door Screw |
| 24 | Screw, 8-32 x 3/8 |
| 25 | Wire Connector |
| 26 | Cord, Service |
| 27 | 549193 Whirlpool Refrigerator Power Clamp |
| 28 | Shield, Evaporator (4) |
| 29 | Tray, Evaporator |
| 30 | Screw, 8-15 x 3/8 |
| 32 | Clip, Wire (2) |
| 33 | 303776 Whirlpool Dishwasher Screw |
| 35 | Frame Assembly |
| 36 | Clip (2) |
| 39 | Spring, Case |
| 40 | Case, Relay |
| 41 | Overload Spring |
| 42 | Relay |
| 43 | Overload |
| 44 | Clamp |
| 45 | W10843121 Whirlpool Refrigerator Tube |
| 46 | Condenser & Precooler Assembly |
| 47 | Clamp (4) |
| 48 | Grommet (4) |
| 50 | Spring-Tube |
| 51 | Clip, Tube (3) |
| 52 | Exchanger, Heat |
| 53 | WPW10141625 Whirlpool Refrigerator Screw Assembly |
| 54 | Clamp Tube |
| 55 | Dampener (2) |
| 56 | Pan, Drip |
| 57 | Screw, 1/4-28 x 1/2 (2) |
| 59 | Rail, Front |
| 60 | 489340 Whirlpool Refrigerator Screw |
| 61 | 4387491 Whirlpool Refrigerator Insert |
| 62 | ``O`` Ring Seal (4) |
| 63 | WP4211117 Whirlpool Refrigerator Connector |
| 64 | Guard, Fan |
| 65 | Screw, 8 x 3/8 |
| 68 | WP245183 Whirlpool Nut |
| 69 | Running Capacitor |
| 70 | Screw Grommet |
| 72 | Relay |
| 73 | Overlo |
| 74 | WPL 549505 |
| 75 | Cover, Spring |
| 76 | WP978025 Whirlpool Refrigerator Valve |
| 76 | Spring, Overload |
| 76 | 876764 Whirlpool Refrigerator Primary Valve |
| 76 | 978030 Whirlpool Refrigerator Valve |
| 76 | VALVE, ACCESS (1/2``) |
| 76 | 978026 Whirlpool Refrigerator Primary Valve |
| 76 | VALVE, ACCESS (5/8``) |
| 76 | 978027 Whirlpool Refrigerator Primary Valve |