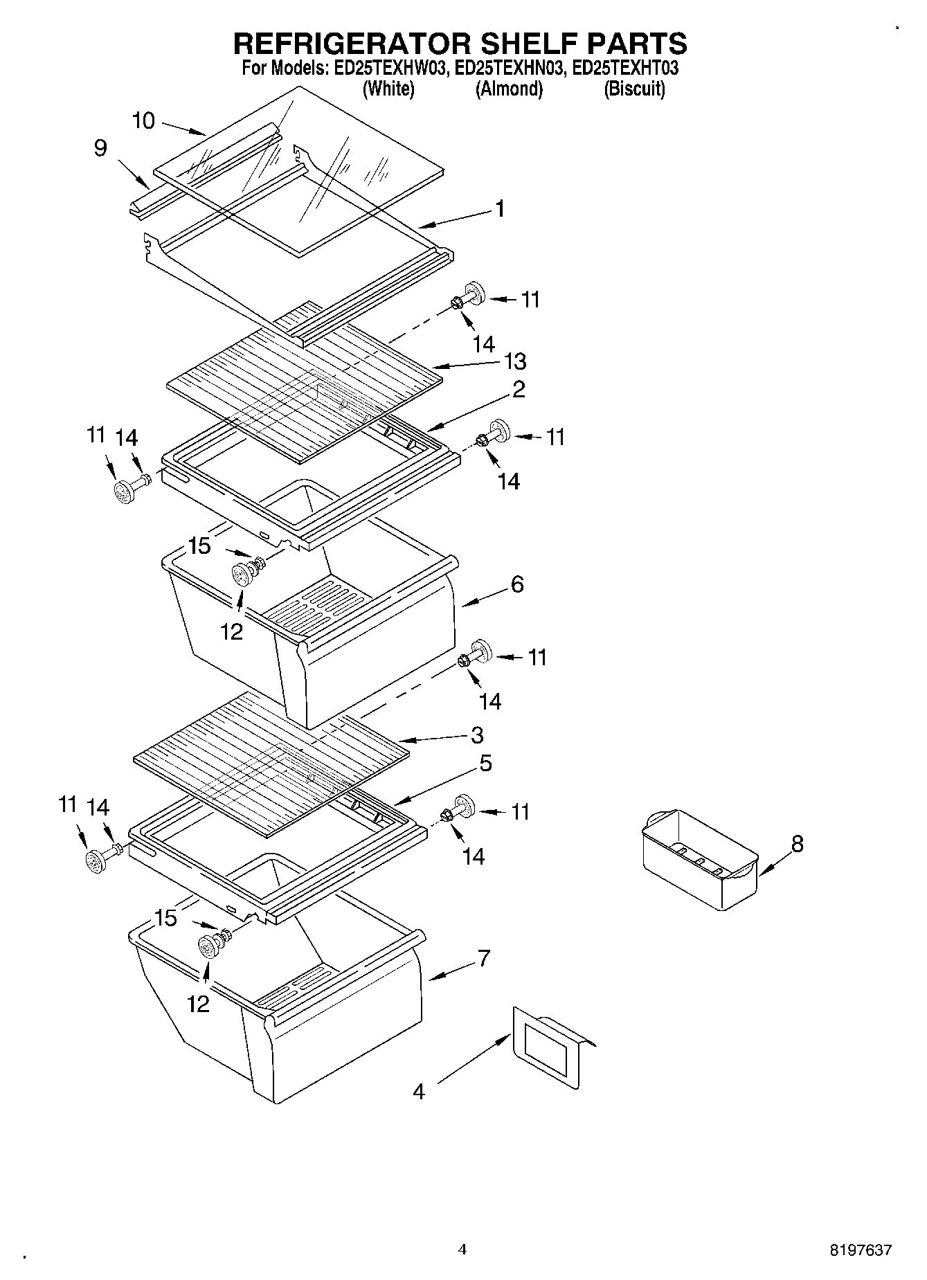
ED25TEXHN03 03 – REFRIGERATOR SHELFadmin2025-04-26T09:45:08+00:00ED25TEXHN03 03 – REFRIGERATOR SHELF ProductsPositionProduct1Shelf, Cantilever (3)2W10508993 Whirlpool Refrigerator Cover Pan42179350 Whirlpool Refrigerator Deflector5Cover, Meat Pan6WP2188661 Whirlpool Crisper Pan7WP2188664 Whirlpool Dishwasher Meat Crisper Pan8W10136387A Whirlpool Refrigerator Egg Container9Retainer10Glass (3)11WP2196483 Whirlpool Refrigerator Shelf Stud12W11223328 Whirlpool Refrigerator Shelf Stud13W10864399 Whirlpool Glass Shelf14WP3400806 Whirlpool Screw15WP3-24004-109 Whirlpool Refrigerator Screw