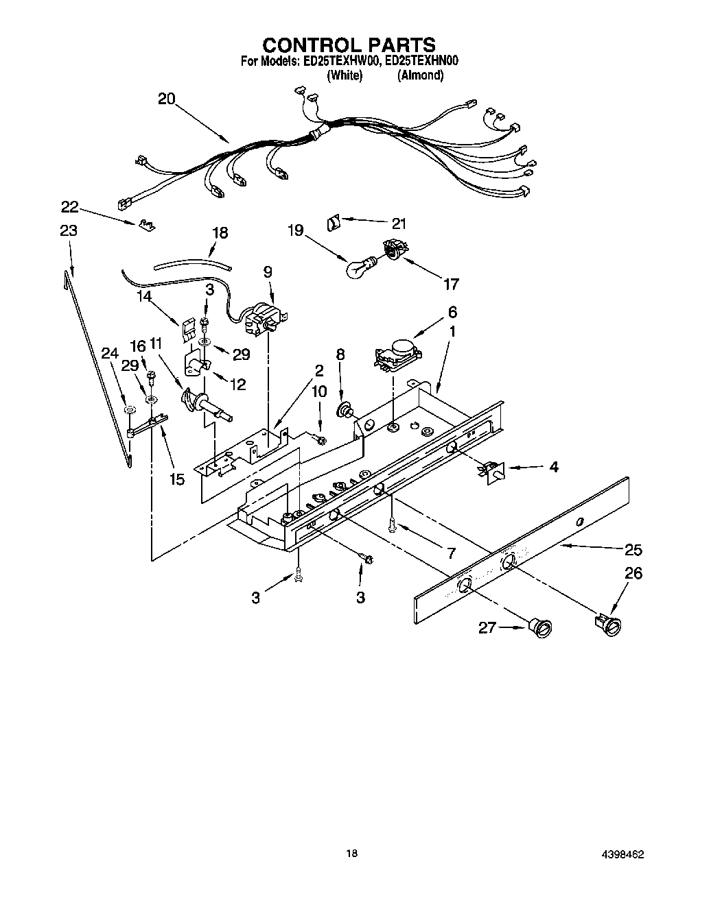
ED25TEXHW00 11 – CONTROL