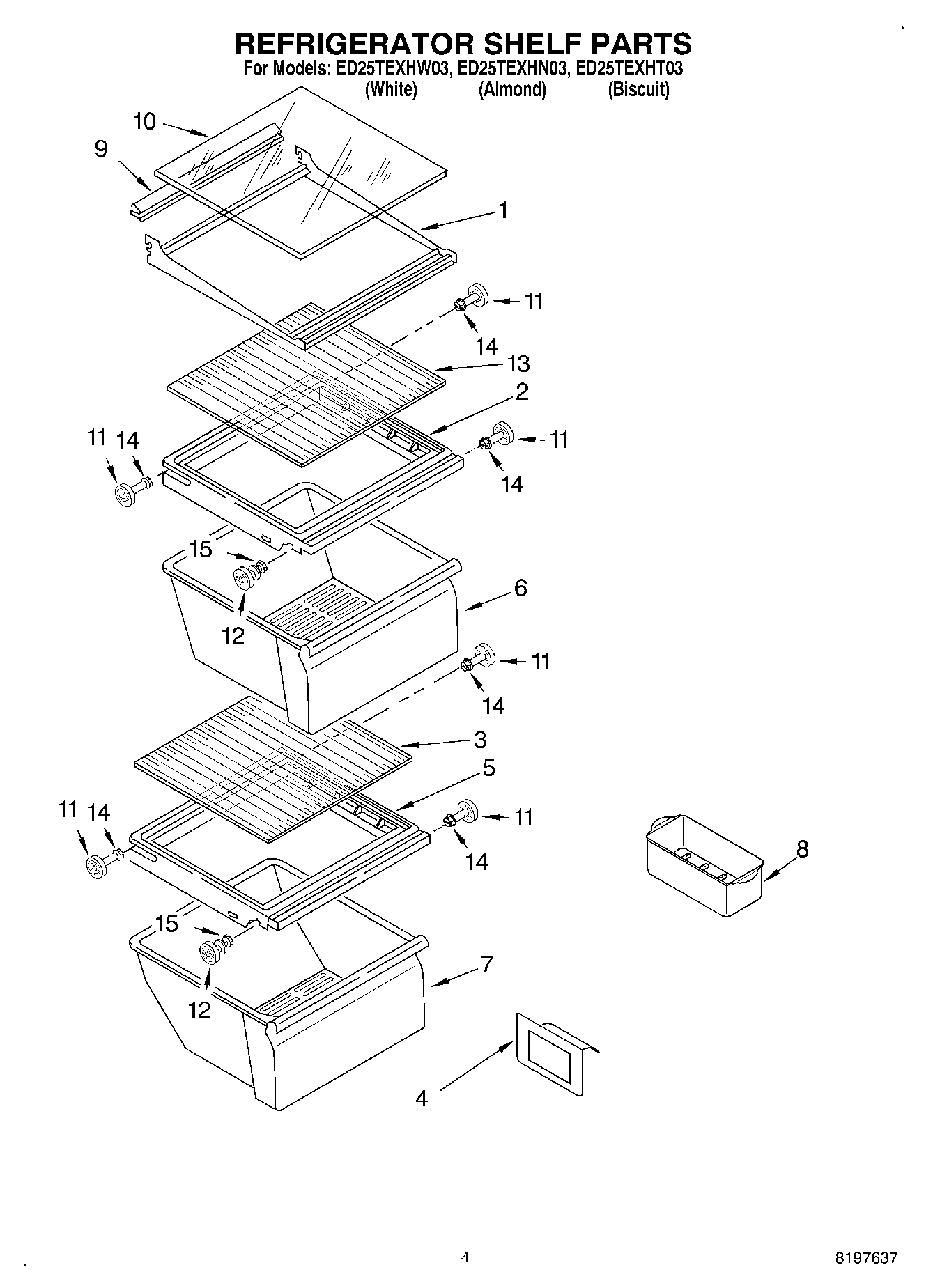
ED25TEXHW03 03 – REFRIGERATOR SHELF