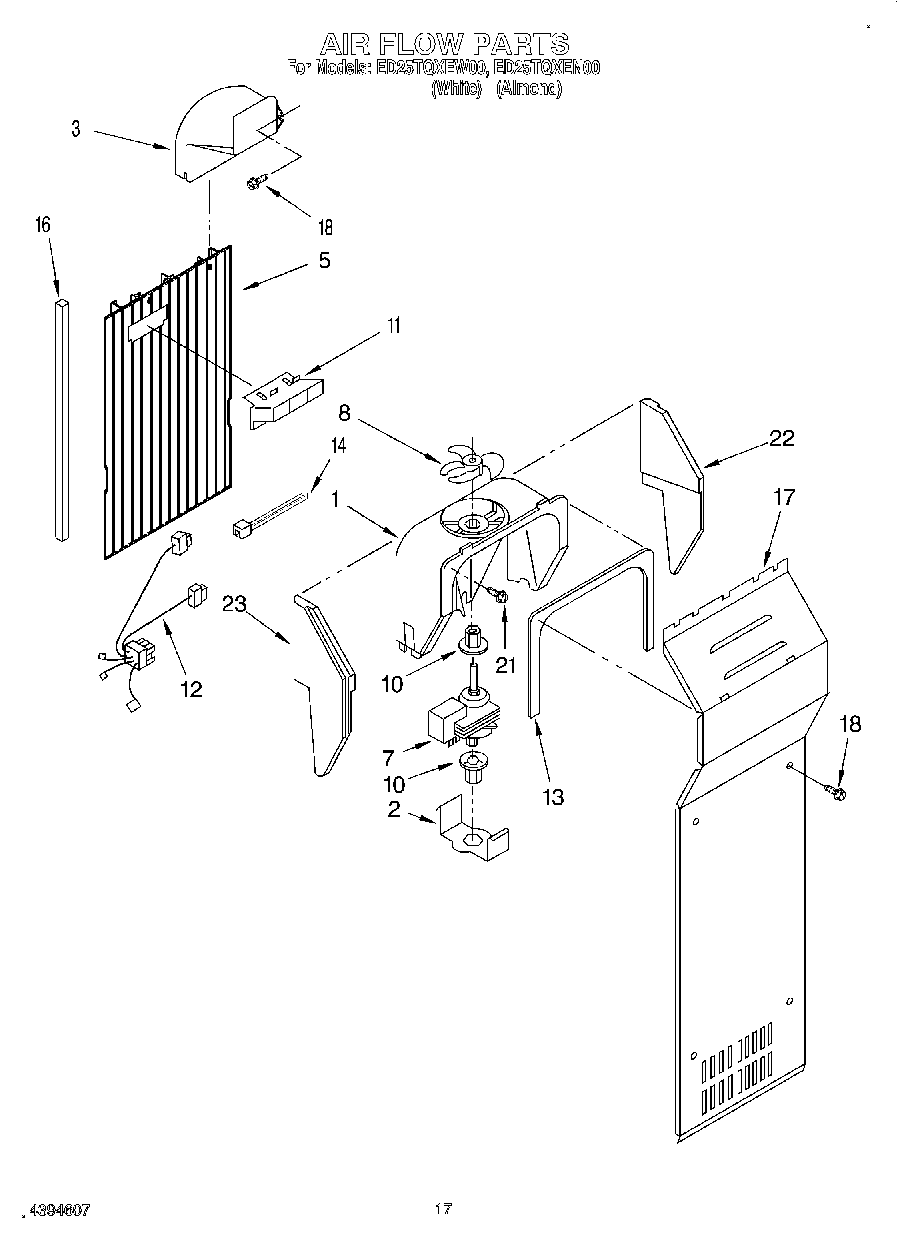
ED25TQXEW00 10 – AIRFLOW