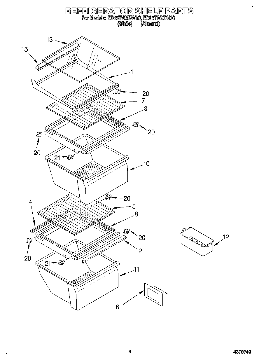
ED25TWXDW00 03 – REFRIGERATOR SHELFadmin2025-04-26T09:42:28+00:00ED25TWXDW00 03 – REFRIGERATOR SHELF ProductsPositionProduct1Shelf, Cantilever (3)2Gasket, Front3W10508993 Whirlpool Refrigerator Cover Pan4Gasket, Rear62179350 Whirlpool Refrigerator Deflector7W10864399 Whirlpool Glass Shelf10WP2188661 Whirlpool Crisper Pan11WP2188664 Whirlpool Dishwasher Meat Crisper Pan12W10136387A Whirlpool Refrigerator Egg Container13Glass, Shelf15Reflector204388538 Whirlpool Refrigerator Stud Shelf Kit (White)214388539 Whirlpool Refrigerator Shelf Stud