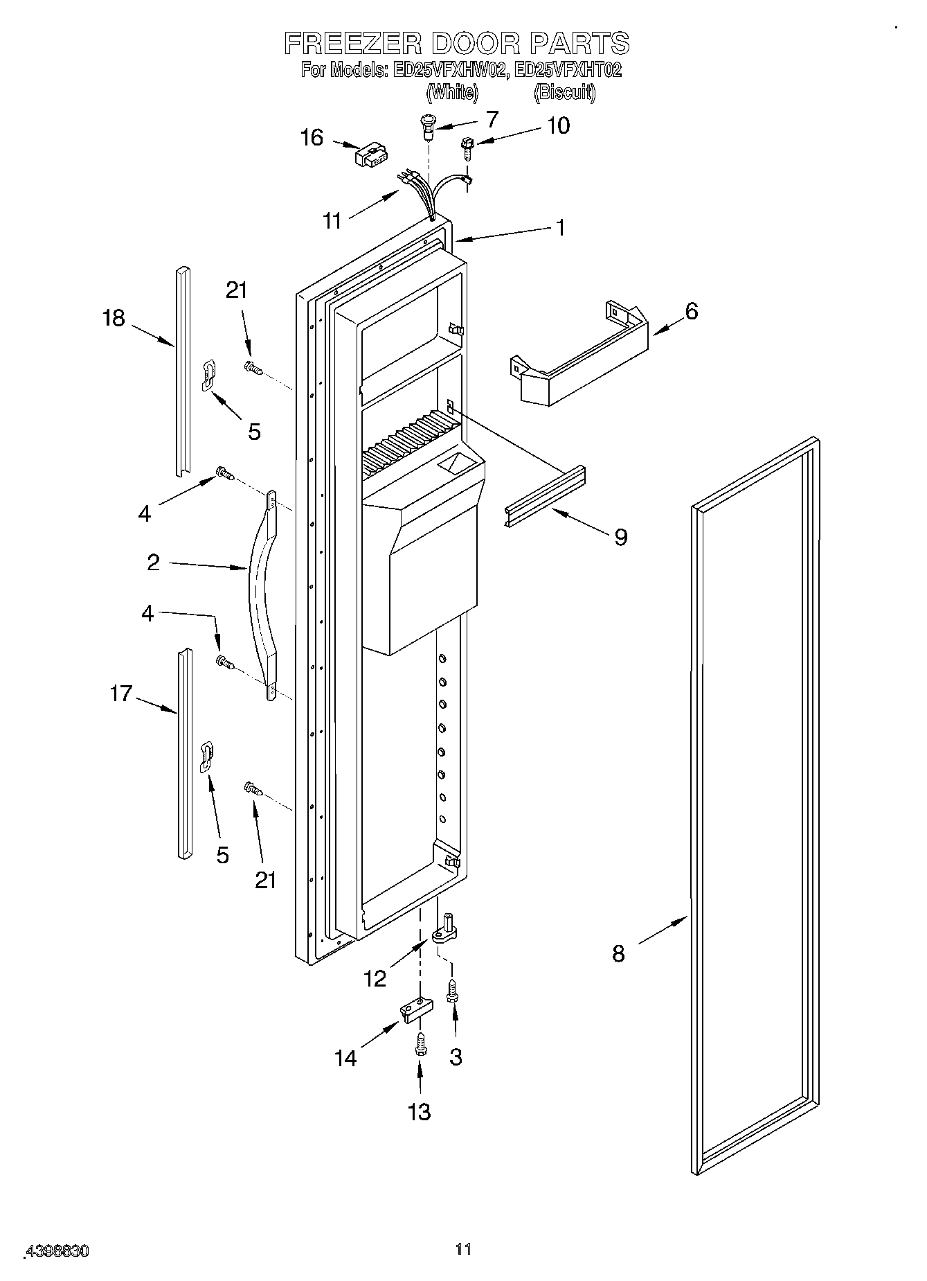
ED25VFXHT02 07 – FREEZER DOOR