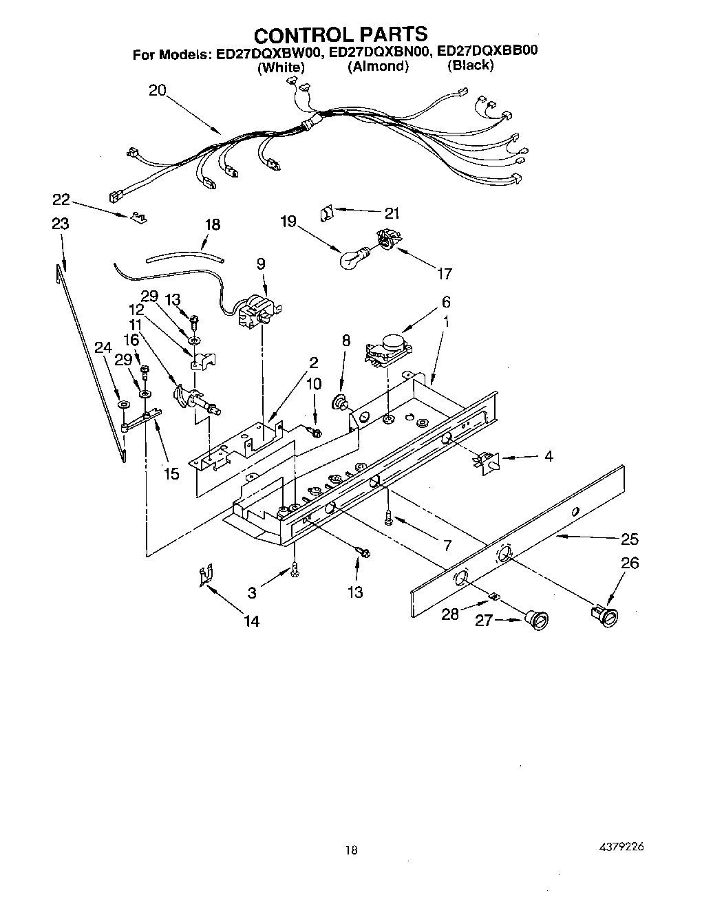
ED27DQXBN00 11 – CONTROL