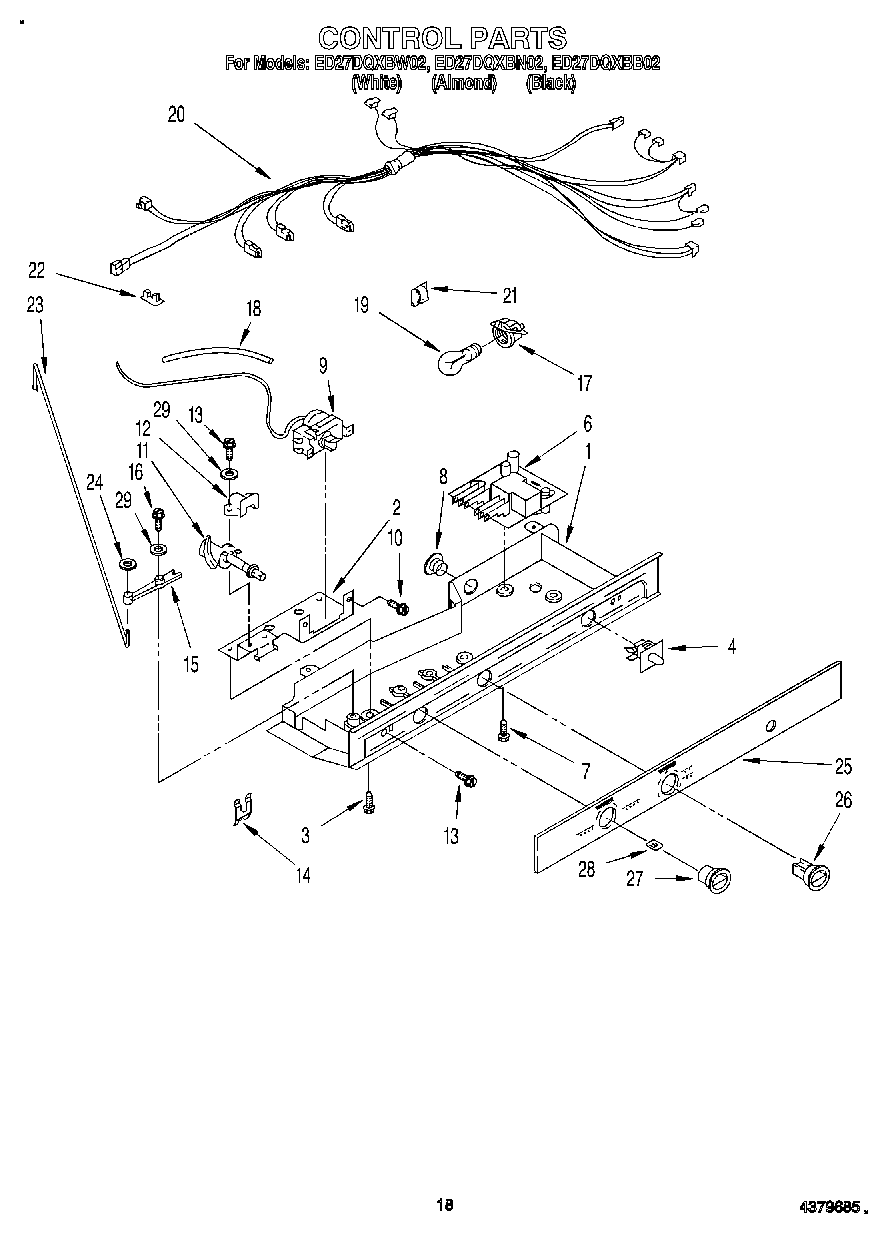
ED27DQXBN02 11 – CONTROL