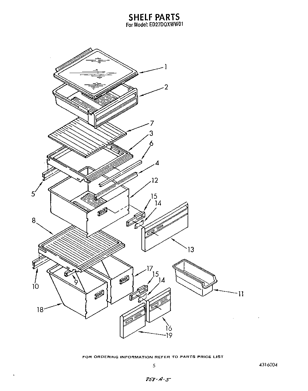
ED27DQXWN01 04 – SHELF