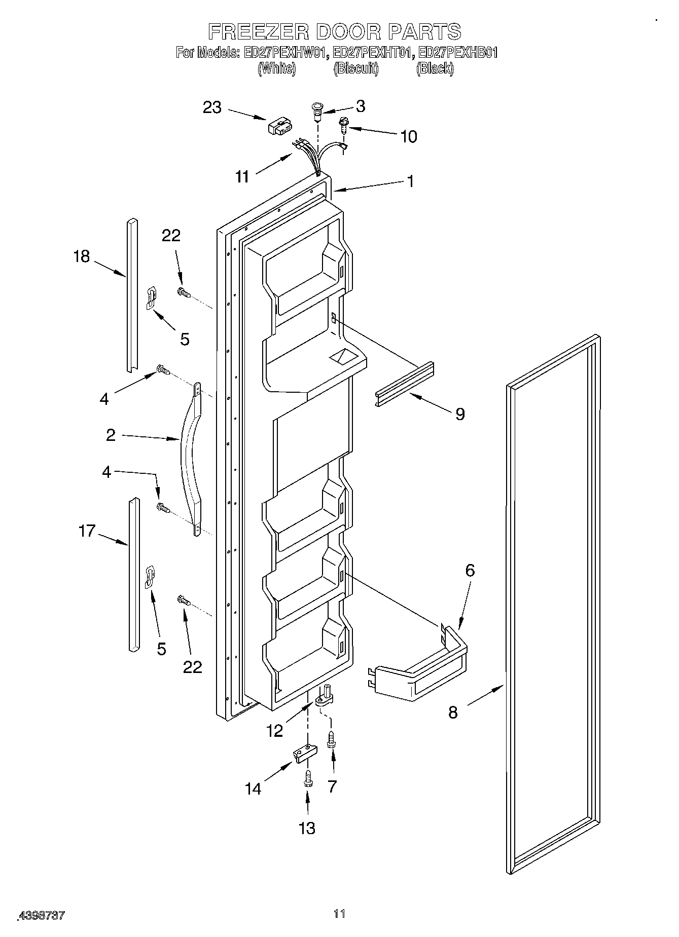
ED27PEXHT01 07 – FREEZER DOOR