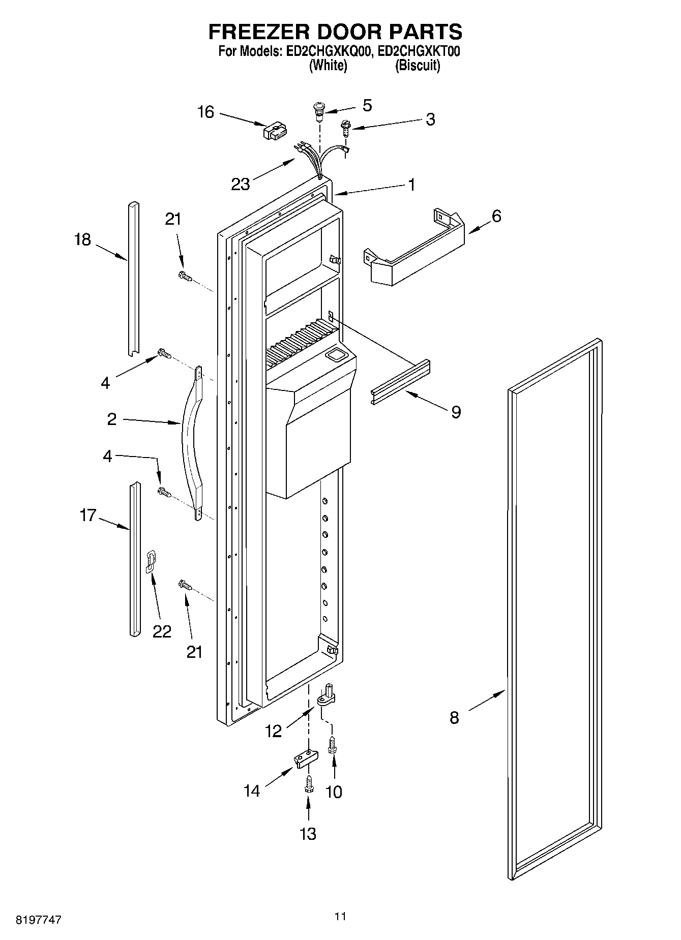
ED2CHGXKQ00 08 – FREEZER DOOR