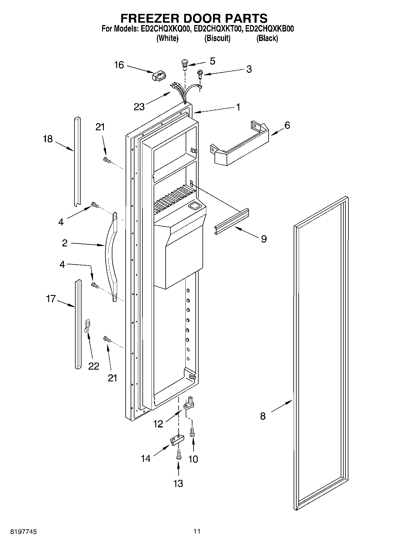
ED2CHQXKQ00 08 – FREEZER DOORadmin2025-04-26T09:45:29+00:00ED2CHQXKQ00 08 – FREEZER DOOR ProductsPositionProduct1Freezer Door (Includes Item No.8 And Dispenser Front Parts) (White)1Freezer Door (Includes Item No.8 And Dispenser Front Parts) (Biscuit)1Freezer Door (Includes Item No.8 And Dispenser Front Parts) (Black)2Handle, Center (Biscuit)2WP2186649B Whirlpool Refrigerator Handle2Handle, Center (White)3WP489128 Whirlpool Refrigerator Screw4WP489491 Whirlpool Refrigerator Screw5WP2182181 Whirlpool Refrigerator Thimble6WP2156021 Whirlpool Refrigerator Door Trim82159072 Whirlpool Refrigerator FIP Gasket82159080 Whirlpool Refrigerator Door Gasket9WPW10307490 Whirlpool Door Trim Assembly10WP3400012 Whirlpool Refrigerator Screw12WP2182179 Whirlpool Cam Closer13WP489483 Whirlpool Screw14WP2206629B Whirlpool Refrigerator Bracket16WP2154473 Whirlpool Refrigerator Connector17Extension, Bottom (White)17Extension, Bottom (Biscuit)17WP2194969B Whirlpool Refrigerator Handle Trim18Extension, Top (Biscuit)18WP2194971B Whirlpool Refrigerator Handle Trim18Extension, Top (White)21WP3400852 Whirlpool Refrigerator Screw22WP2195327 Whirlpool Refrigerator Clip232311642 Whirlpool Refrigerator Wire Harness