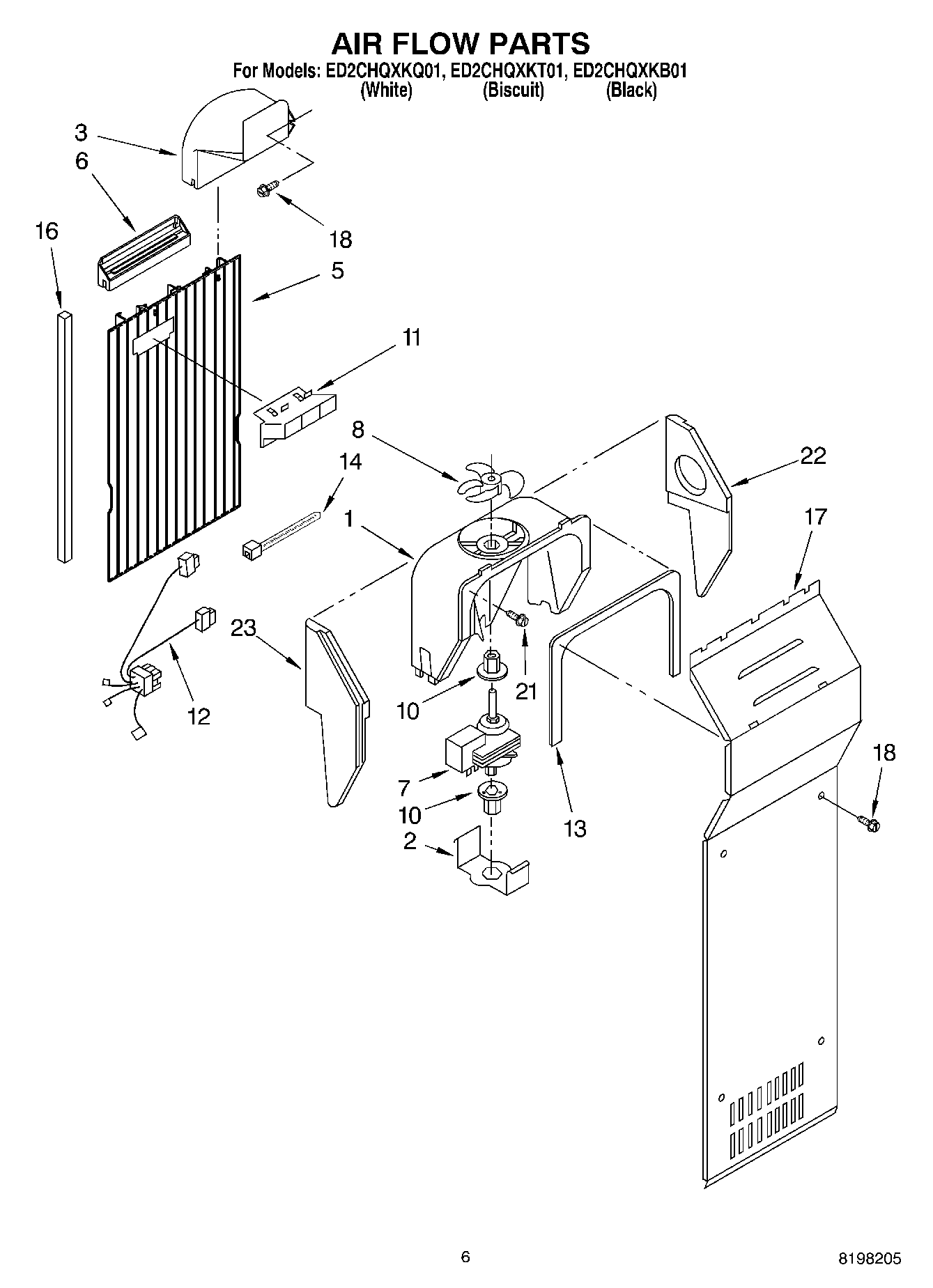
ED2CHQXKQ01 05 – AIR FLOW