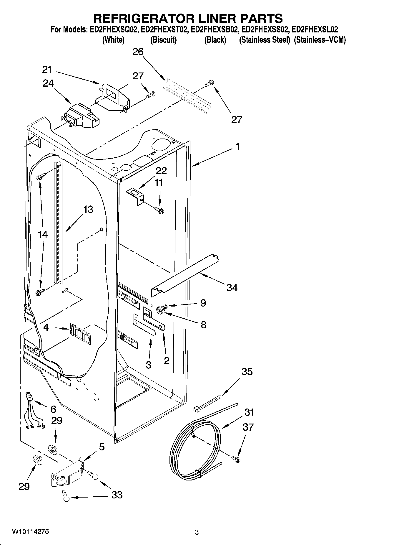
ED2FHEXSB02 02 – REFRIGERATOR LINER PARTSadmin2025-04-26T09:47:27+00:00ED2FHEXSB02 02 – REFRIGERATOR LINER PARTS ProductsPositionProduct1Liner (Not A Serviceable Part)22194744 Whirlpool Refrigerator Escutcheon32182757 Whirlpool Refrigerator Slide4Louver5Bracket, Dual Crisper Light62311637 Whirlpool Refrigerator Wire Harness8W11223328 Whirlpool Refrigerator Shelf Stud9WP3-24004-109 Whirlpool Refrigerator Screw11WP488488 Whirlpool Refrigerator Screw13Shelf Ladder14WP489478 Whirlpool Refrigerator Screw212152019 Whirlpool Refrigerator Cover22WP2256085 Whirlpool Refrigerator Retainer24WPW10151374 Whirlpool Refrigerator Diffuser262150331 Whirlpool Refrigerator Wire Cover27W10759522 Whirlpool Screw294387478 Whirlpool Refrigerator Light Socket31WP2256126 Whirlpool Refrigerator Reservoir33RANGE ONLY 40W 120V APPL BULB34Light Lens35WPW10339879 Whirlpool Wire Tie37Screw (2)