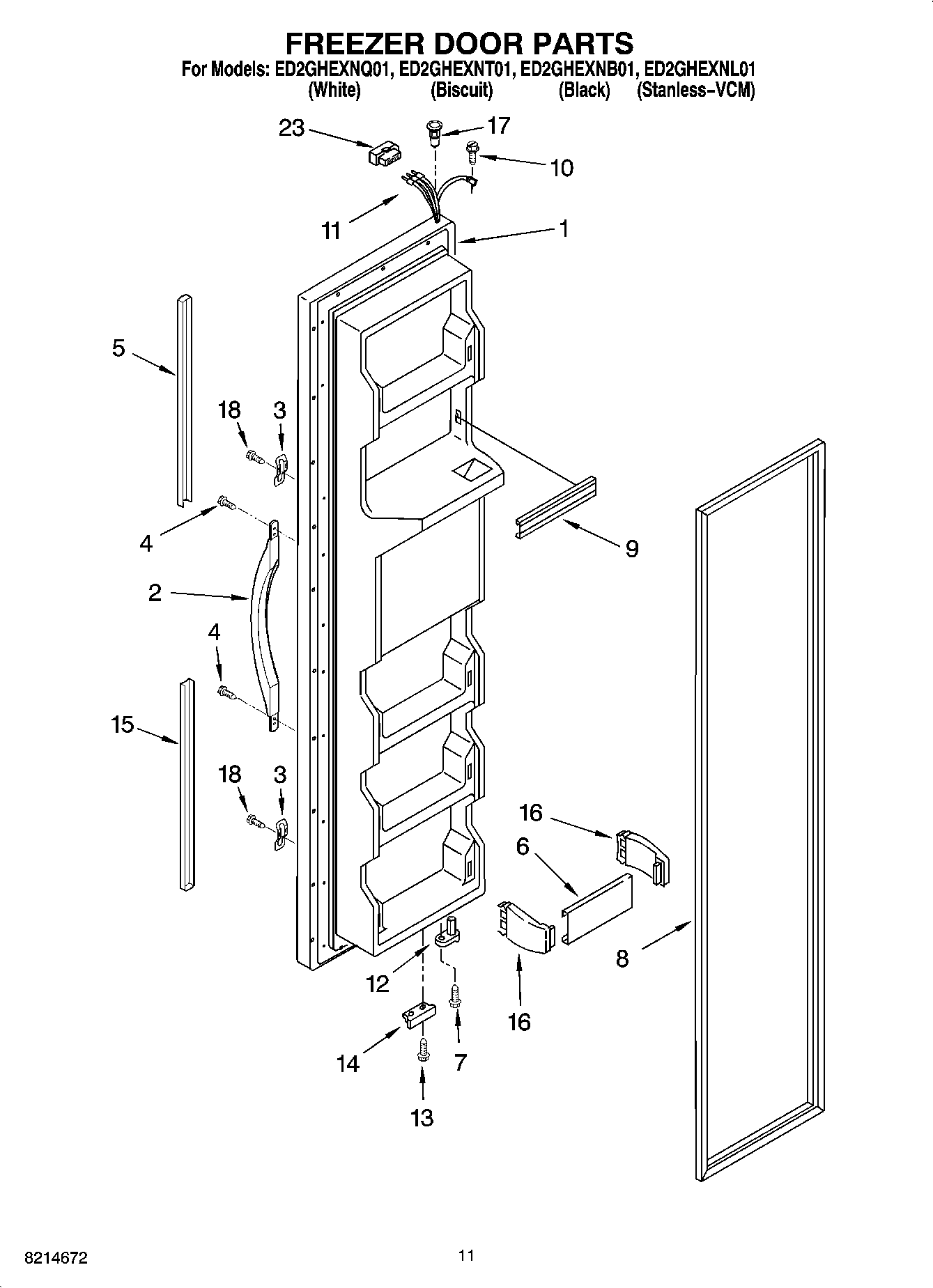
ED2GHEXNL01 07 – FREEZER DOOR PARTSadmin2025-04-26T09:45:00+00:00ED2GHEXNL01 07 – FREEZER DOOR PARTS ProductsPositionProduct1Freezer Door (Includes Item 8 And Dispenser Front Parts) (White)1Freezer Door (Includes Item 8 And Dispenser Front Parts) (Biscuit)1Freezer Door (Includes Item 8 And Dispenser Front Parts) (Stainless-VCM)1Freezer Door (Includes Item 8 And Dispenser Front Parts) (Black)2Handle, Center (Biscuit)2Handle, Center (White)2WP2186649B Whirlpool Refrigerator Handle3WP2195327 Whirlpool Refrigerator Clip4WP489491 Whirlpool Refrigerator Screw5WP2194971B Whirlpool Refrigerator Handle Trim5Extension, Top (White)5Extension, Top (Biscuit)6Trim, Door (3)7WP3400012 Whirlpool Refrigerator Screw82159072 Whirlpool Refrigerator FIP Gasket82159080 Whirlpool Refrigerator Door Gasket9WPW10307490 Whirlpool Door Trim Assembly10WP489128 Whirlpool Refrigerator Screw112311642 Whirlpool Refrigerator Wire Harness12WP2182179 Whirlpool Cam Closer13WP489483 Whirlpool Screw14WP2206629B Whirlpool Refrigerator Bracket15Extension, Bottom (White)15Extension, Bottom (Biscuit)15WP2194969B Whirlpool Refrigerator Handle Trim16WP2195917K Whirlpool Refrigerator Endcap17WP2182181 Whirlpool Refrigerator Thimble18WP3400852 Whirlpool Refrigerator Screw23WP2154473 Whirlpool Refrigerator Connector