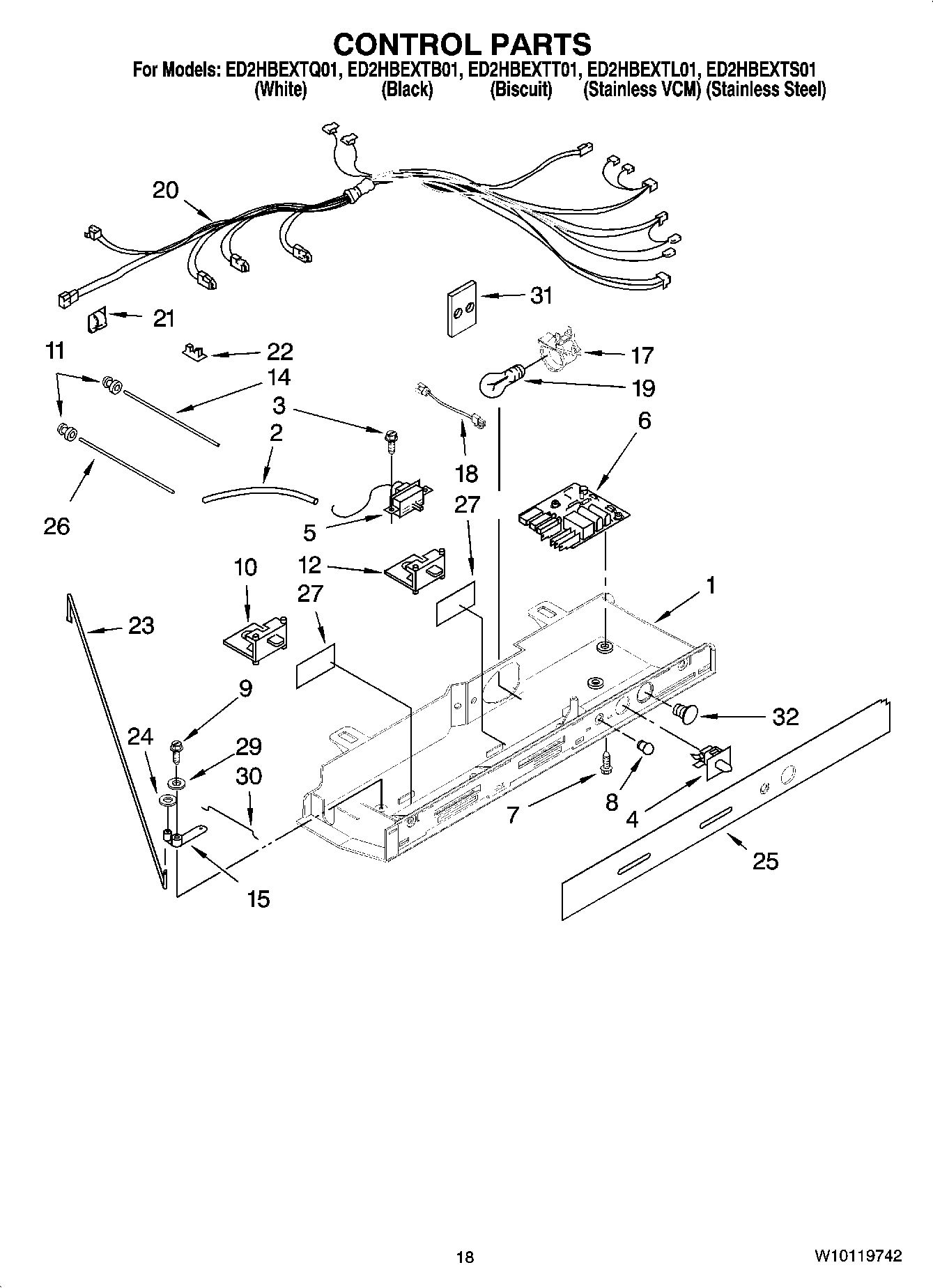
ED2HBEXTQ01 11 – CONTROL PARTSadmin2025-04-26T11:06:08+00:00ED2HBEXTQ01 11 – CONTROL PARTS ProductsPositionProduct1Control Box2WP2196003 Whirlpool Refrigerator Bar Riser32006254 Whirlpool Refrigerator Screw4WP2149705 Whirlpool Refrigerator Door Switch5WP2315562 Whirlpool Refrigerator Thermostat6WPW10366605-includeCORE Whirlpool WPW10366605 Refrigerator Electronic Control Board + Core7489392 Whirlpool Refrigerator Screw8COVER, LIGHT LENS9627068 Whirlpool Refrigerator Screw102181741 Whirlpool Refrigerator Slide11Grommet, Light Fiber122161466 Whirlpool Refrigerator Slide14Fiber Optic152161306 Whirlpool Refrigerator Arm Pivot174387478 Whirlpool Refrigerator Light Socket18W10853646 Whirlpool Indicator Light19W11679940 Whirlpool Refrigerator Light Bulb Assembly202311632 Whirlpool Refrigerator Wire Harness21WP1115374 Whirlpool Refrigerator Clip22CLIP, WIRING232161308 Whirlpool Refrigerator Rod24Fastener, Push-On25Front Cover, Control Box26Light Bar (FC)27Window29489203 Whirlpool Refrigerator Washer302161307 Whirlpool Refrigerator Rod312172931 Whirlpool Refrigerator Shield32940014 Whirlpool Refrigerator Primary Button Plug