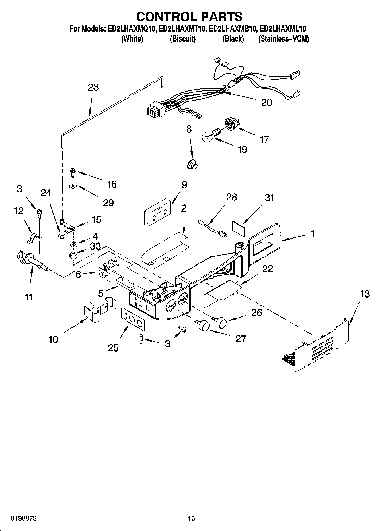
ED2LHAXMB10 11 – CONTROL PARTS