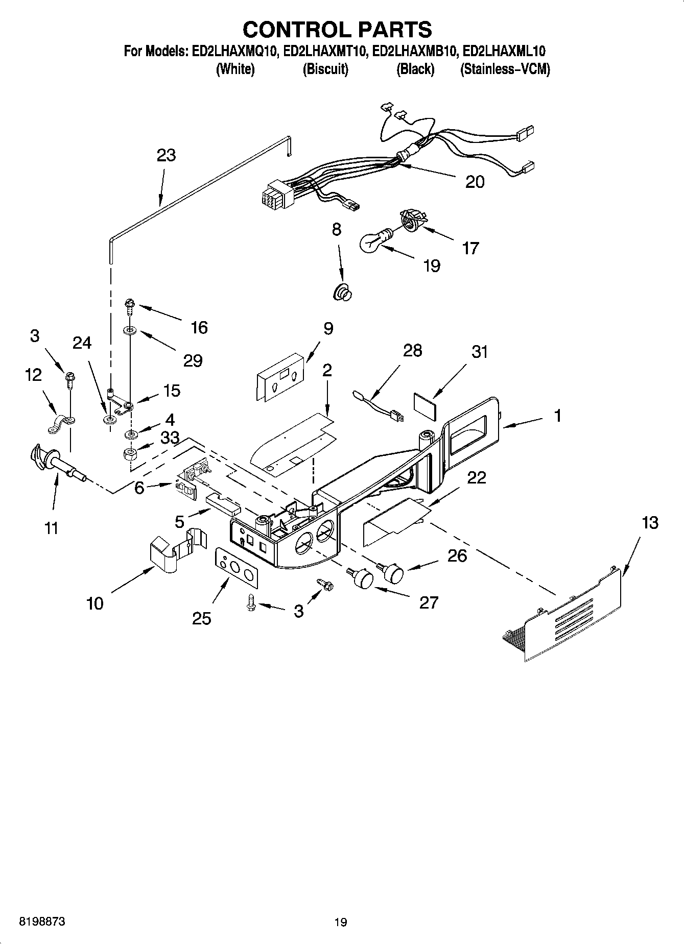
ED2LHAXML10 11 – CONTROL PARTS