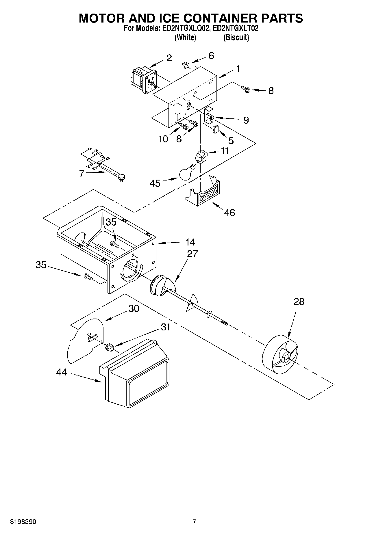
ED2NTGXLT02 05 – MOTOR AND ICE CONTAINERadmin2025-04-26T11:07:16+00:00ED2NTGXLT02 05 – MOTOR AND ICE CONTAINER ProductsPositionProduct1Bracket, Motor2Motor, Dispenser5Plug, Bracket6WP1115374 Whirlpool Refrigerator Clip7Wiring Assembly, Ice Dispenser8WP489399 Whirlpool Refrigerator Screw9COUPLING AUGER MOTOR10WP489478 Whirlpool Refrigerator Screw114387478 Whirlpool Refrigerator Light Socket14WP2196089 Whirlpool Refrigerator Container27Auger284388736 Whirlpool Refrigerator Ice Dispenser Bucket Bin Conveyor Auger Drum30Floating Baffle31Nut, Bearing35WP488787 Whirlpool Refrigerator Screw44Front Cover Ice Container45RANGE ONLY 40W 120V APPL BULB46WP2171706 Whirlpool Refrigerator Light Lens