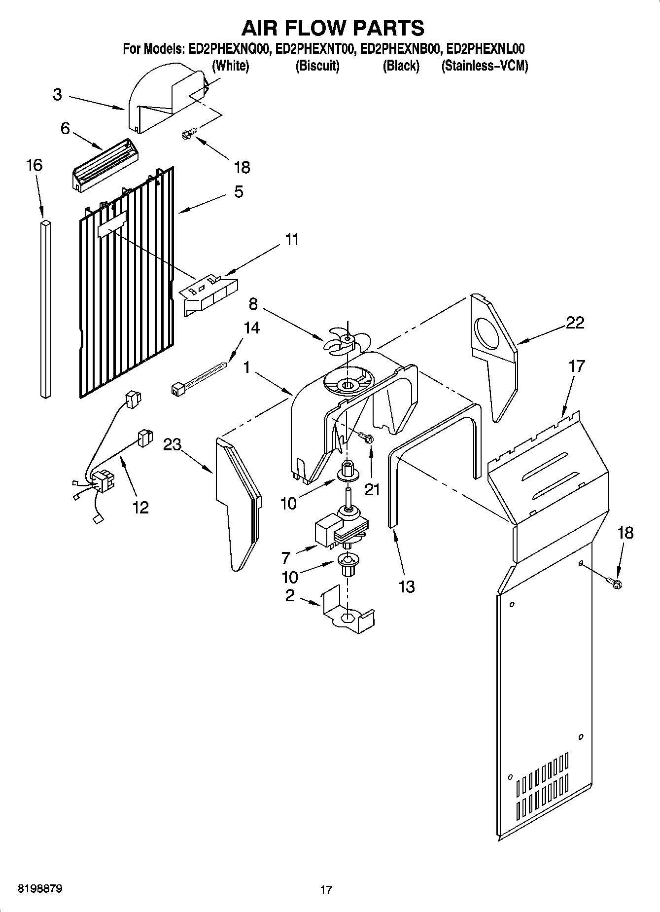
ED2PHEXNT00 10 – AIR FLOW PARTS