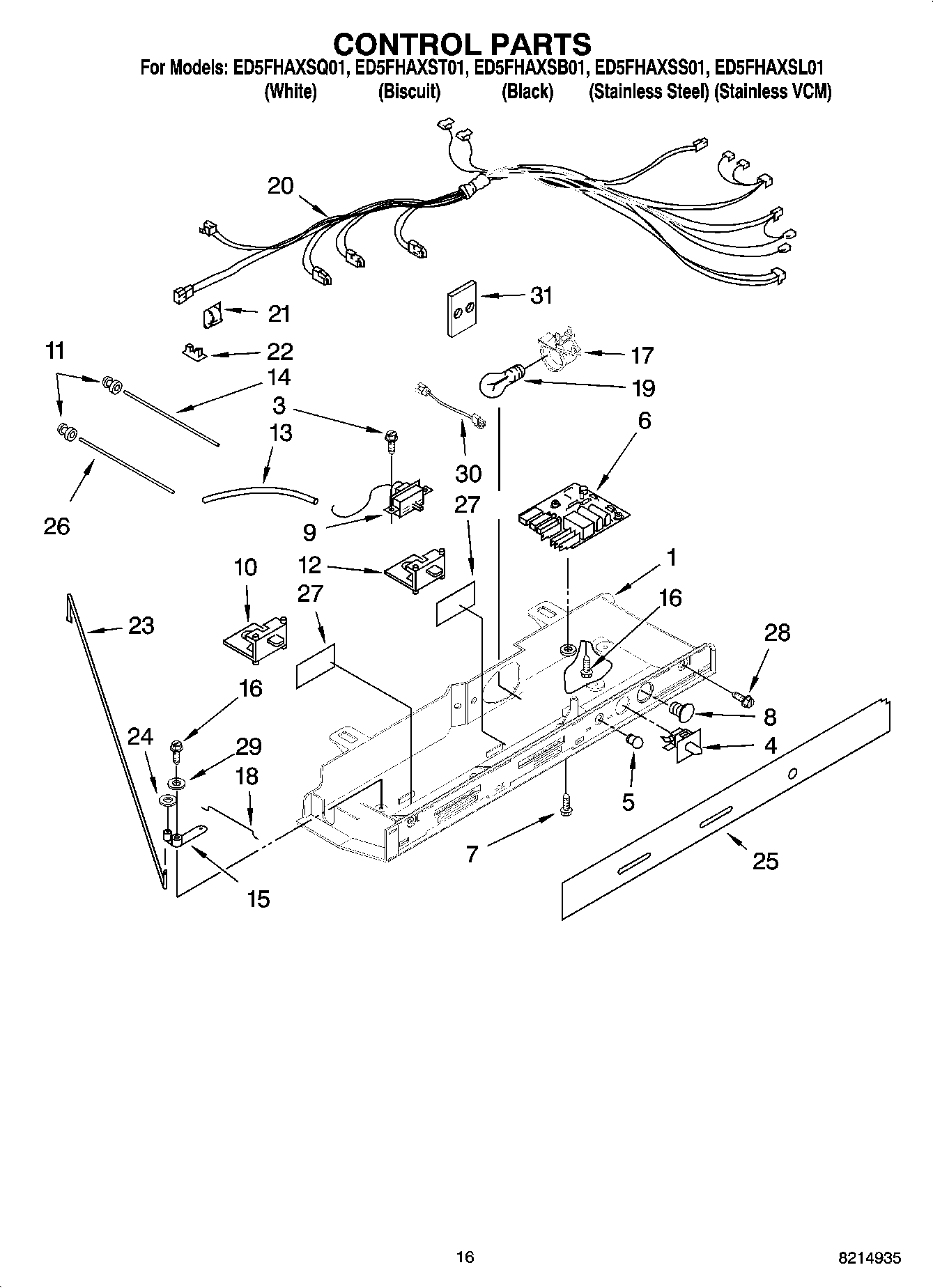
ED5FHAXSB01 10 – CONTROL PARTS