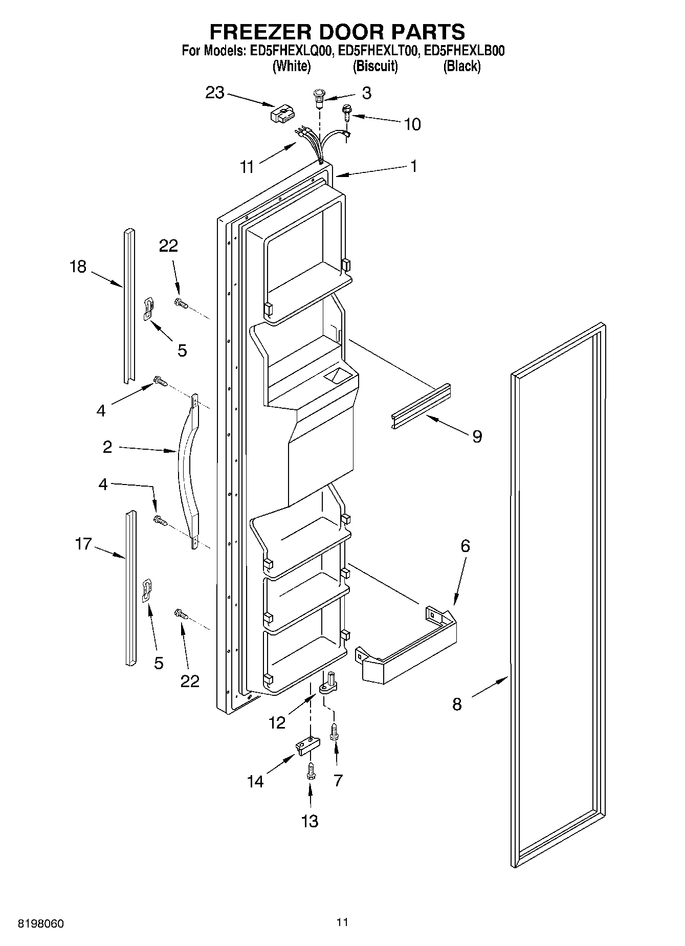
ED5FHEXLB00 07 – FREEZER DOORadmin2025-04-26T11:09:10+00:00ED5FHEXLB00 07 – FREEZER DOOR ProductsPositionProduct1Freezer Door (Includes Item 8 And Dispenser Front Parts) (White)1Freezer Door (Includes Item 8 And Dispenser Front Parts) (Biscuit)1Freezer Door (Includes Item 8 And Dispenser Front Parts) (Black)2Handle, Center (Biscuit)2WP2186649B Whirlpool Refrigerator Handle2Handle, Center (White)3WP2182181 Whirlpool Refrigerator Thimble4WP489491 Whirlpool Refrigerator Screw5WP2195327 Whirlpool Refrigerator Clip6WP2171157 Whirlpool Shelf Trim7WP3400012 Whirlpool Refrigerator Screw82159074 Whirlpool Door Gasket Seal82159082 Whirlpool Freezer Door Gasket Black9WPW10307490 Whirlpool Door Trim Assembly10WP489128 Whirlpool Refrigerator Screw112311641 Whirlpool Refrigerator Wire Harness12WP2182179 Whirlpool Cam Closer13WP489483 Whirlpool Screw14WP2206629B Whirlpool Refrigerator Bracket17WP2194969B Whirlpool Refrigerator Handle Trim17Extension, Bottom (White)17Extension, Bottom (Biscuit)18Extension, Top (Biscuit)18WP2194973W Whirlpool Door Trim18Extension, Top (Black)22WP3400852 Whirlpool Refrigerator Screw23WP2154473 Whirlpool Refrigerator Connector