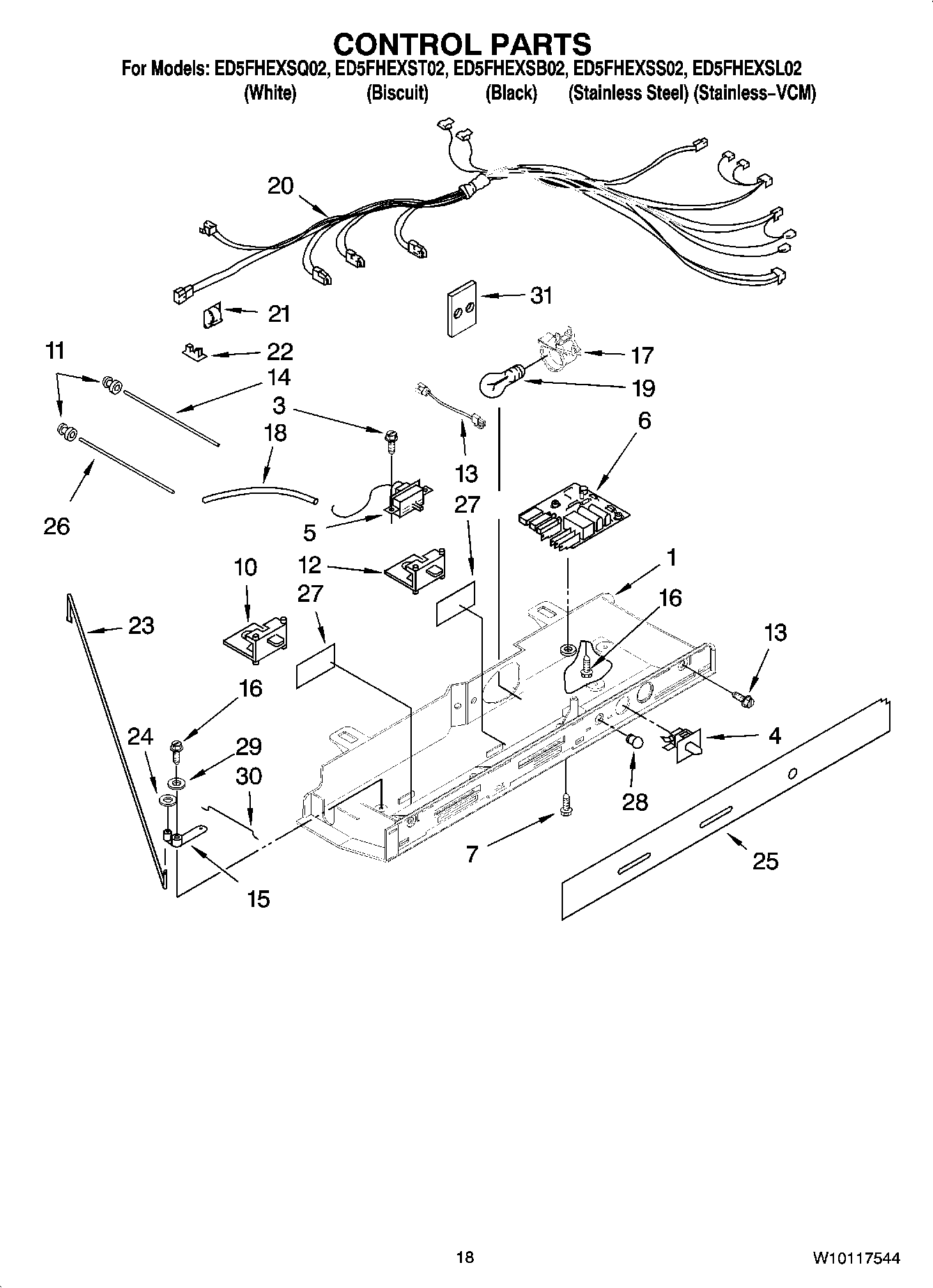
ED5FHEXSL02 11 – CONTROL PARTS