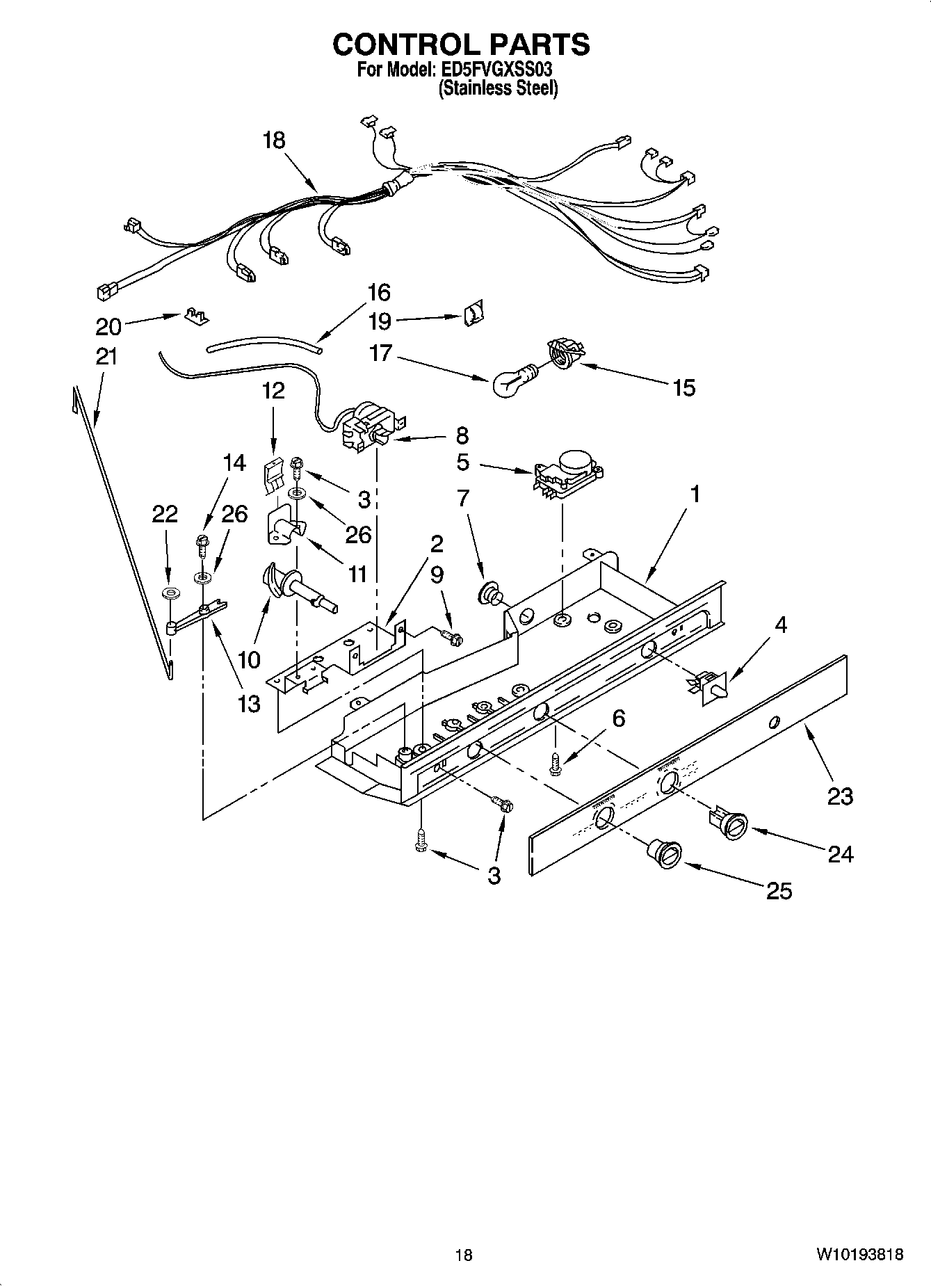
ED5FVGXSS03 11 – CONTROL PARTSadmin2025-04-26T10:36:32+00:00ED5FVGXSS03 11 – CONTROL PARTS ProductsPositionProduct1Control Box2Mounting Bracket3WP3196557 Whirlpool Screw4WP2149705 Whirlpool Refrigerator Door Switch5W10822278 Whirlpool Defrost Timer6489392 Whirlpool Refrigerator Screw7940014 Whirlpool Refrigerator Primary Button Plug8WP2198202 Whirlpool Refrigerator Temperature Thermostat9WP965173 Whirlpool Dishwasher Screw10WP2182195 Whirlpool Refrigerator Cam111110560 Whirlpool Refrigerator Bearing12WP2196062 Whirlpool Refrigerator Clip13Pivot Arm14627068 Whirlpool Refrigerator Screw154387478 Whirlpool Refrigerator Light Socket16WP2196003 Whirlpool Refrigerator Bar Riser17RANGE ONLY 40W 120V APPL BULB182311636 Whirlpool Refrigerator Wire Harness19WP1115374 Whirlpool Refrigerator Clip20CLIP, WIRING21Connecting Rod22Fastener, Push-On23Escutcheon, Control Box242182111 Whirlpool Refrigerator Thermal Knob25Knob, Air Control26489203 Whirlpool Refrigerator Washer