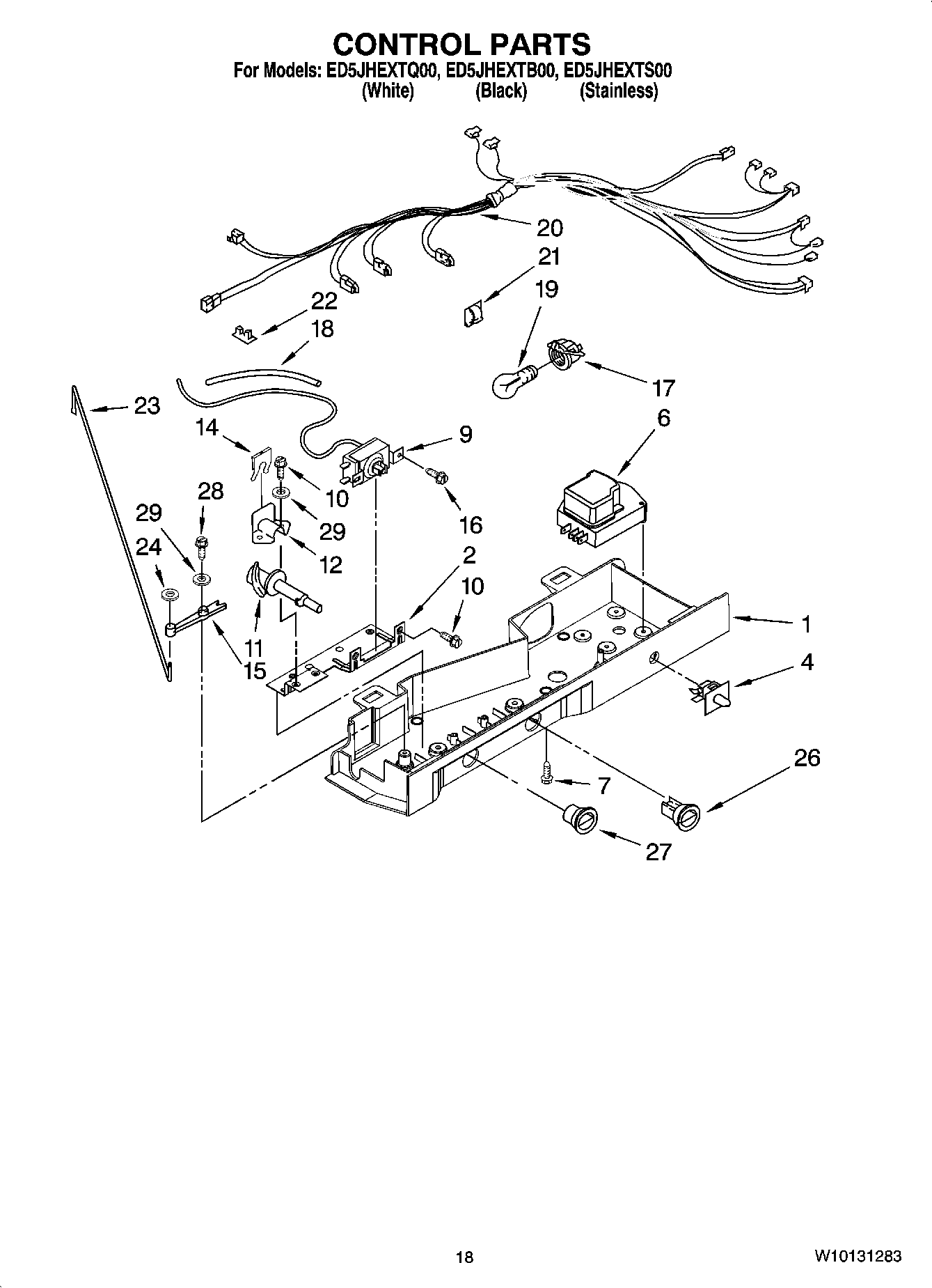
ED5JHEXTQ00 11 – CONTROL PARTS