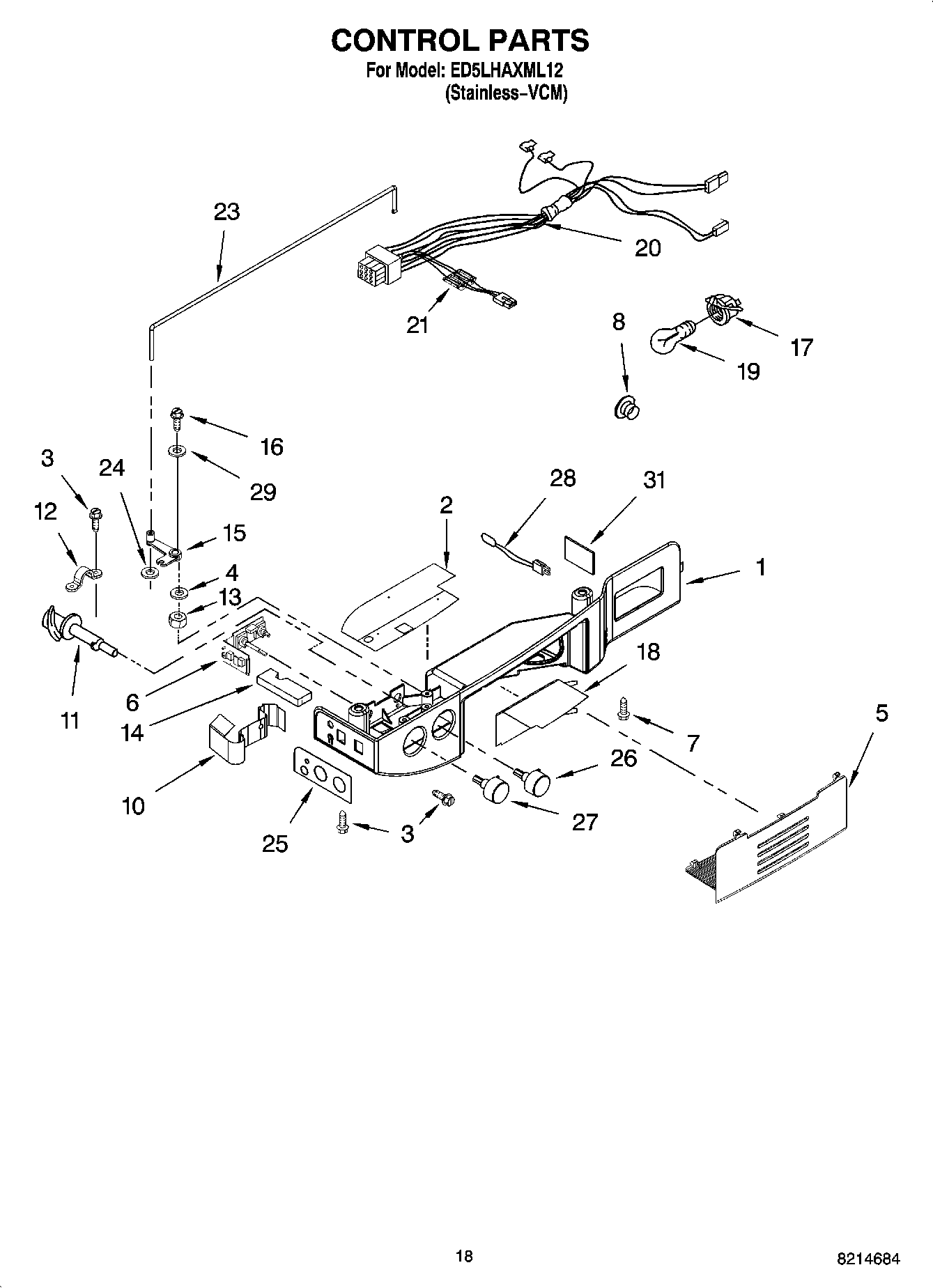
ED5LHAXML12 11 – CONTROL PARTS