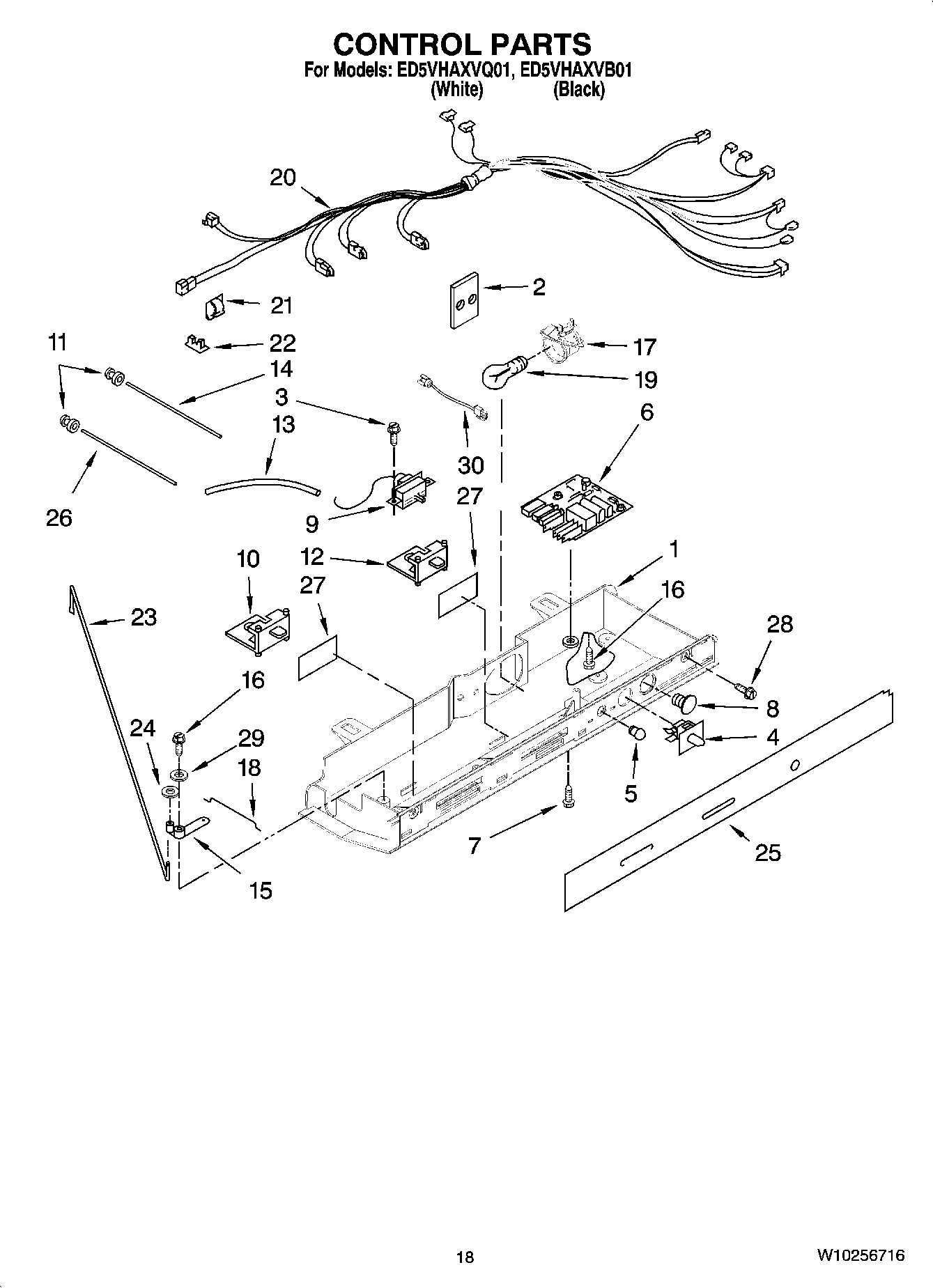
ED5VHAXVB01 11 – CONTROL PARTSadmin2025-04-26T09:48:46+00:00ED5VHAXVB01 11 – CONTROL PARTS ProductsPositionProduct1Control Box22172931 Whirlpool Refrigerator Shield32006254 Whirlpool Refrigerator Screw4WP2149705 Whirlpool Refrigerator Door Switch5COVER, LIGHT LENS6WPW10366605-includeCORE Whirlpool WPW10366605 Refrigerator Electronic Control Board + Core7489392 Whirlpool Refrigerator Screw8940014 Whirlpool Refrigerator Primary Button Plug9WP2315562 Whirlpool Refrigerator Thermostat102181741 Whirlpool Refrigerator Slide11Grommet, Light Fiber122161466 Whirlpool Refrigerator Slide13WP2196003 Whirlpool Refrigerator Bar Riser14Fiber Optic152161306 Whirlpool Refrigerator Arm Pivot16627068 Whirlpool Refrigerator Screw174387478 Whirlpool Refrigerator Light Socket182161307 Whirlpool Refrigerator Rod19RANGE ONLY 40W 120V APPL BULB202311632 Whirlpool Refrigerator Wire Harness21WP1115374 Whirlpool Refrigerator Clip22CLIP, WIRING232161308 Whirlpool Refrigerator Rod24Fastener, Push-On25Front Cover, Control Box26Light Bar (FC)27Window29489203 Whirlpool Refrigerator Washer30W10853646 Whirlpool Indicator Light