ED5VHEXVQ09 01 – CABINET PARTS

ED5VHEXVQ09 01 – CABINET PARTS

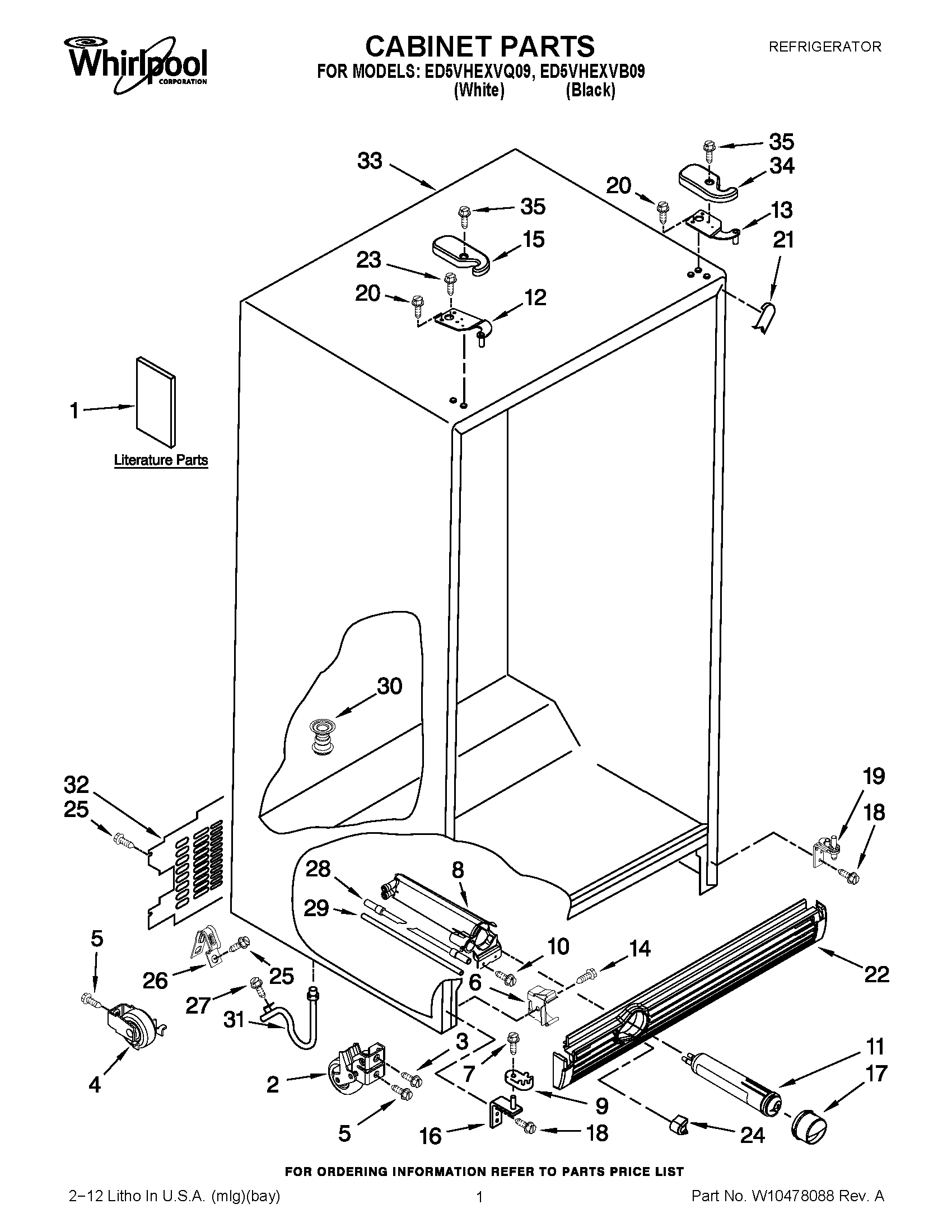
Products

PositionProduct
1ENERGY GUIDE
1Modular Icemaker Service Sheet
1USE & CARE GUIDE
1INSTRUCTION SHEET, DOOR REMOVAL
1Service & Wiring Sheet
2Front Roller (2)
3W10850698 Whirlpool Refrigerator Screw
4WPW10250570 Whirlpool Refrigerator Cabinet Roller
5WP489427 Whirlpool Refrigerator Screw
6WP2155013 Whirlpool Refrigerator Clip
7WP489483 Whirlpool Screw
8WPW10121138 Whirlpool Refrigerator Water Filter Housing
9WPW10329686 Whirlpool Door Cam Black
10WP489500 Whirlpool Refrigerator Screw
11FILTER 3-SINGLE TEAL
12HINGE, TOP (FC)
13W10242649 Whirlpool Refrigerator Door Hinge
14WPW10141604 Whirlpool Screw
15WP2203407W Whirlpool Refrigerator Cover
15WP2203407B Whirlpool Refrigerator Cover
16W10138965 Whirlpool Refrigerator Door Hinge
17WP2260518B Whirlpool Water Filter Cap
17WP2260518W Whirlpool Refrigerator Filter Cap
19ADJUSTABLE HINGE CAM ASSY
20WP489497 Whirlpool Screw
21Filler, Wrapper (Black)
21Filler, Wrapper (White)
22WPW10311033 Whirlpool Refrigerator Grille
22WPW10311032 Whirlpool Refrigerator Grille
23WP489128 Whirlpool Refrigerator Screw
242260503W Whirlpool Refrigerator Button
24WP2260503B Whirlpool Refrigerator Button
25SCREW
26549193 Whirlpool Refrigerator Power Clamp
27WP489464 Whirlpool Refrigerator Screw
28TUBE, FILTER INLET
29WPW10350006 Whirlpool Refrigerator Water Tube
30W11566763 Whirlpool Fitting
31W11512417 Whirlpool Drain Connector
32WP2188755 Whirlpool Rear Panel
33CABINET (NOT A SERVICEABLE PART)
34WP2203408W Whirlpool Refrigerator Cover
34WP2203408B Whirlpool Refrigerator Cover
35WP8281227 Whirlpool Screw