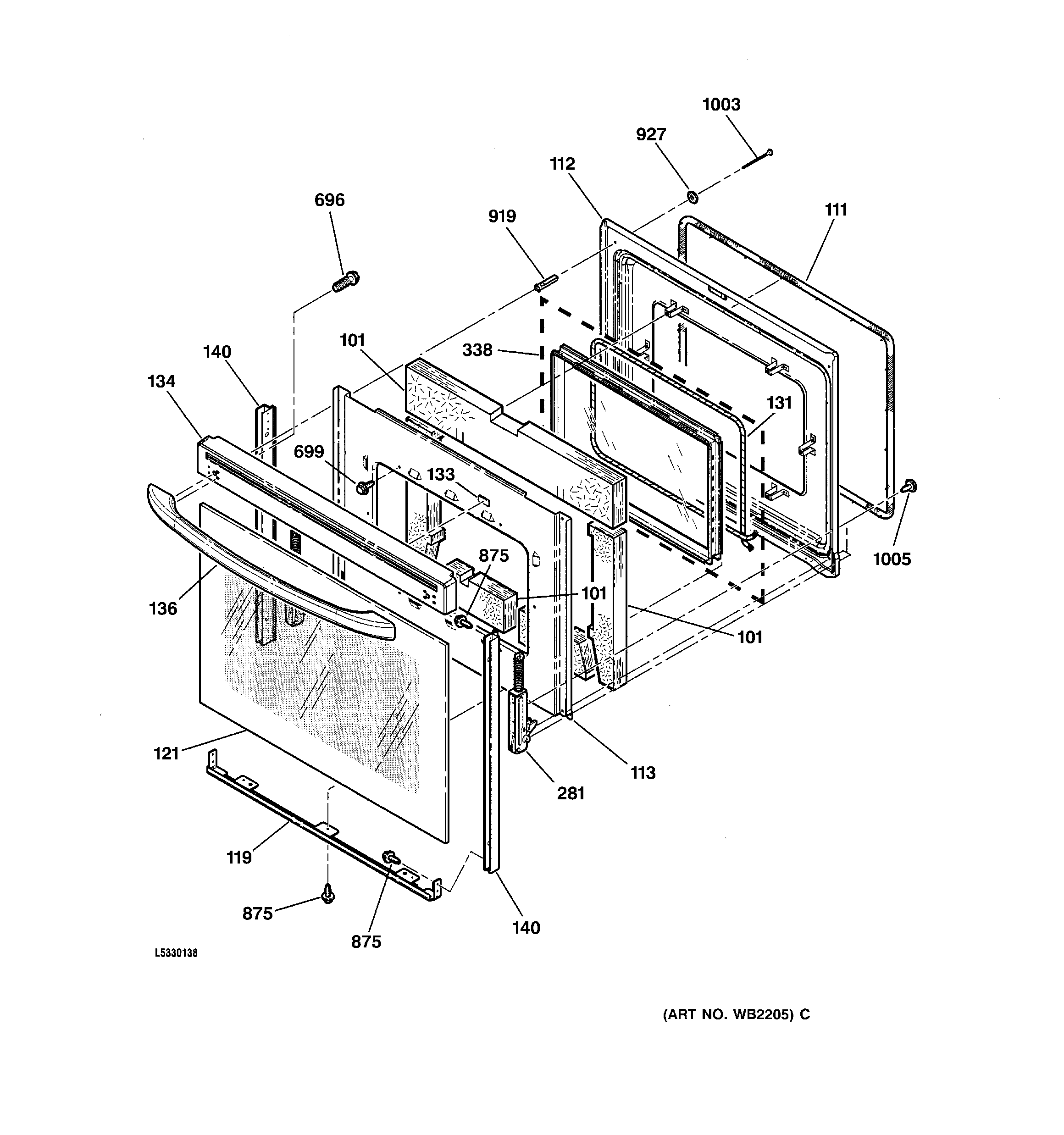
| 101 | GEN WB35T10019 |
| 101 | WB35T10077 GE Oven Door Insulation |
| 101 | GEN WB35T10018 |
| 111 | GASKET OVEN |
| 112 | GEN WB55T10050 |
| 113 | GEN WB56T10027 |
| 119 | WB07X42966 GE Range Bottom Trim Channel |
| 121 | GEN WB56T10038 |
| 131 | GEN WB04T10002 |
| 133 | WB01T10022 GE Oven Door Bumper |
| 133 | WB01T10026 GE Oven Door Pad |
| 133 | WB02X29562 GE Range Top Bumper |
| 134 | GEN WB07T10119 |
| 136 | WB15X10047 GE Range Oven Black Door Handle |
| 140 | DOOR FRAME |
| 281 | WB10T10007 GE Oven Hinge Assembly |
| 338 | WB55T10067 GE Oven Inner Door Glass |
| 696 | GEN WB01T10013 |
| 699 | WB1M1 GE Oven Screw |
| 875 | WH2X930 GE Screw |
| 875 | WZ4X245D GE Screw Package |
| 919 | GEN WB02T10035 |
| 927 | WB1X119D GE Oven Range Washer |
| 1003 | GEN WB01T10018 |
| 1005 | WB01T10008 GE Oven Screw 10-32 |