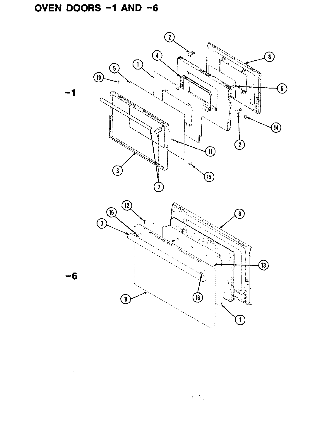
EG971A579 03 – DOOR