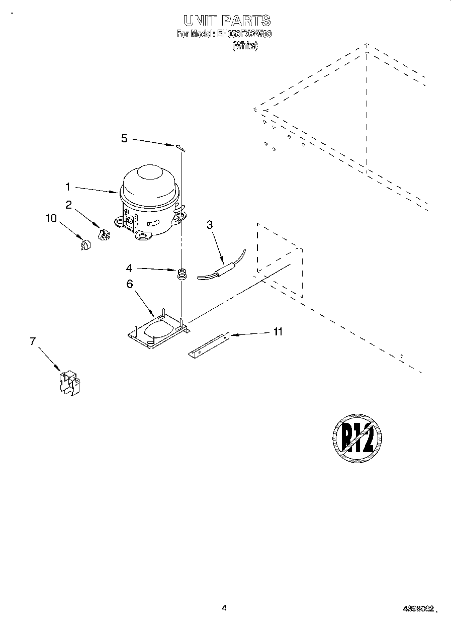
EH050FXGW00 03 – SECTION