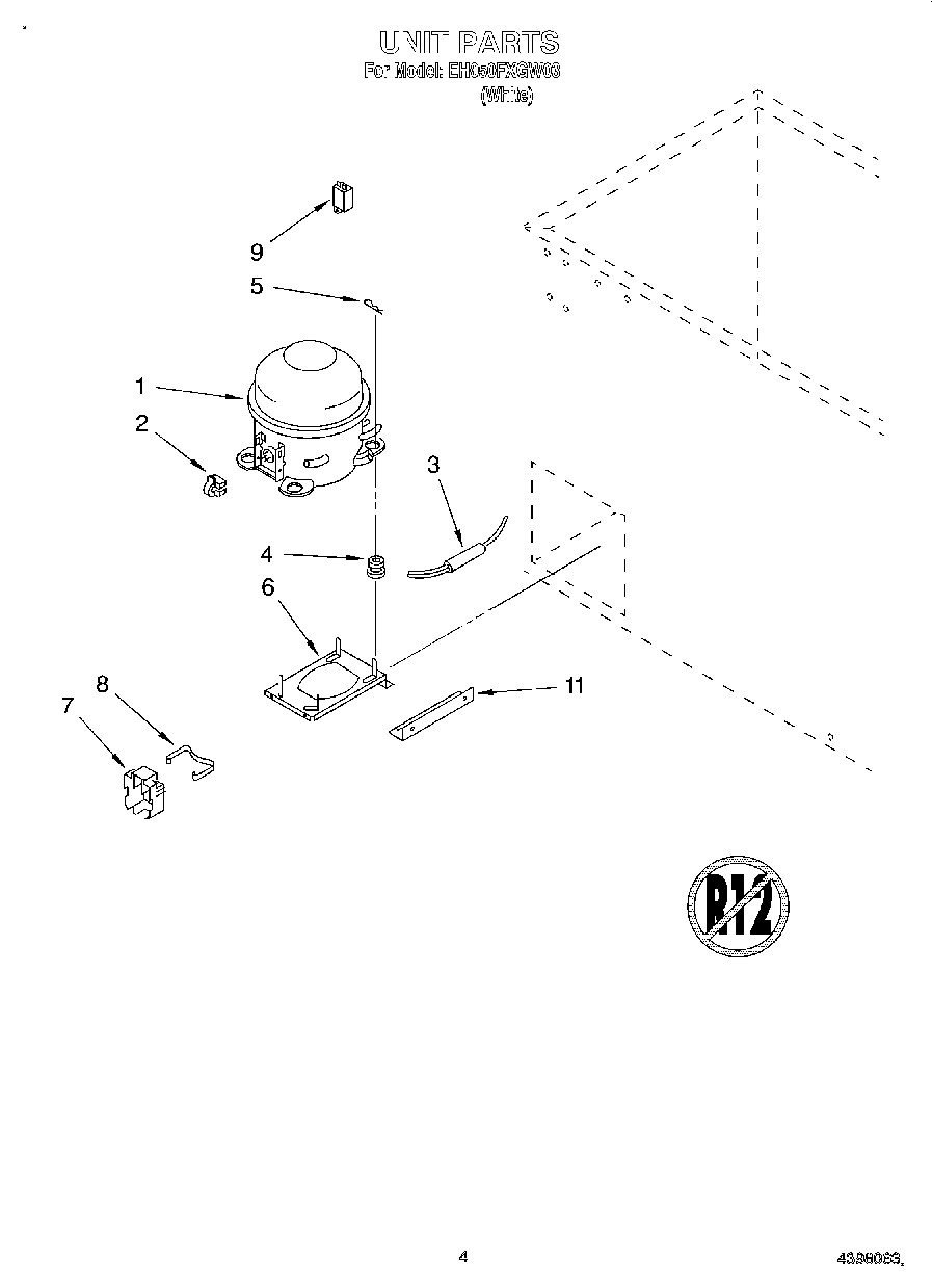
EH050FXGW03 03 – SECTION