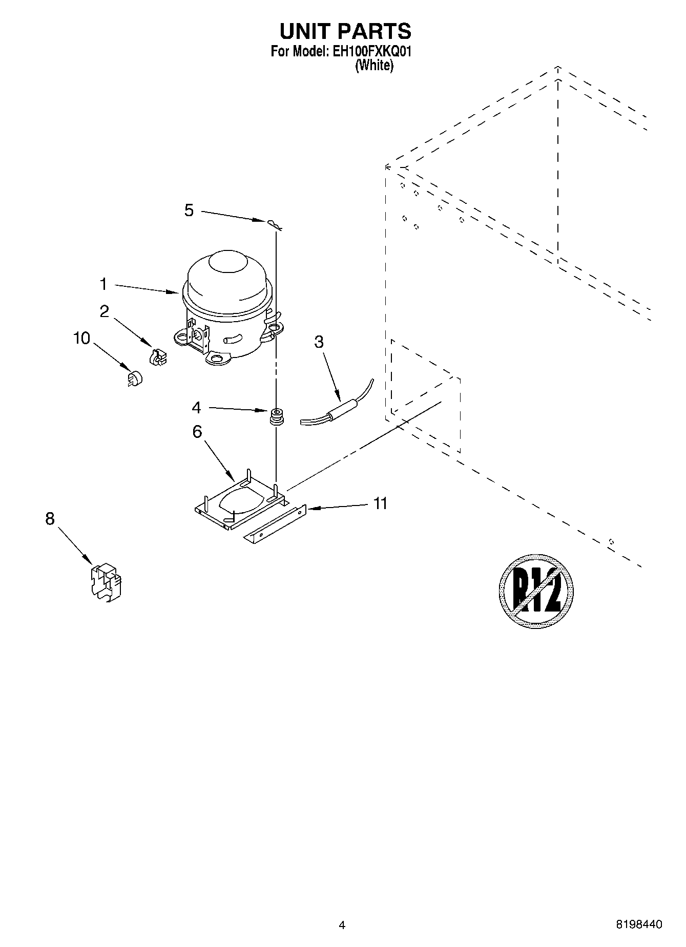
EH100FXKQ01 03 – UNIT PARTSadmin2025-04-26T10:35:43+00:00EH100FXKQ01 03 – UNIT PARTS ProductsPositionProduct1Compressor (Includes Items 2, 3, 4, 5, 8 & 9)2Relay3W10843121 Whirlpool Refrigerator Tube4Grommet, Mounting Compressor5Clip, Hitch Pin6Base, Compressor8WP2162358 Whirlpool Refrigerator Terminal Cover102264602 Whirlpool Refrigerator Overload113-81556-001 Whirlpool Brace11REFRIGERANT CHARGE 4.5 oz. (R-134A)