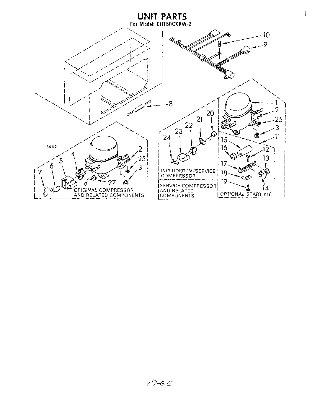
EH150CXKW2 04 – SECTION