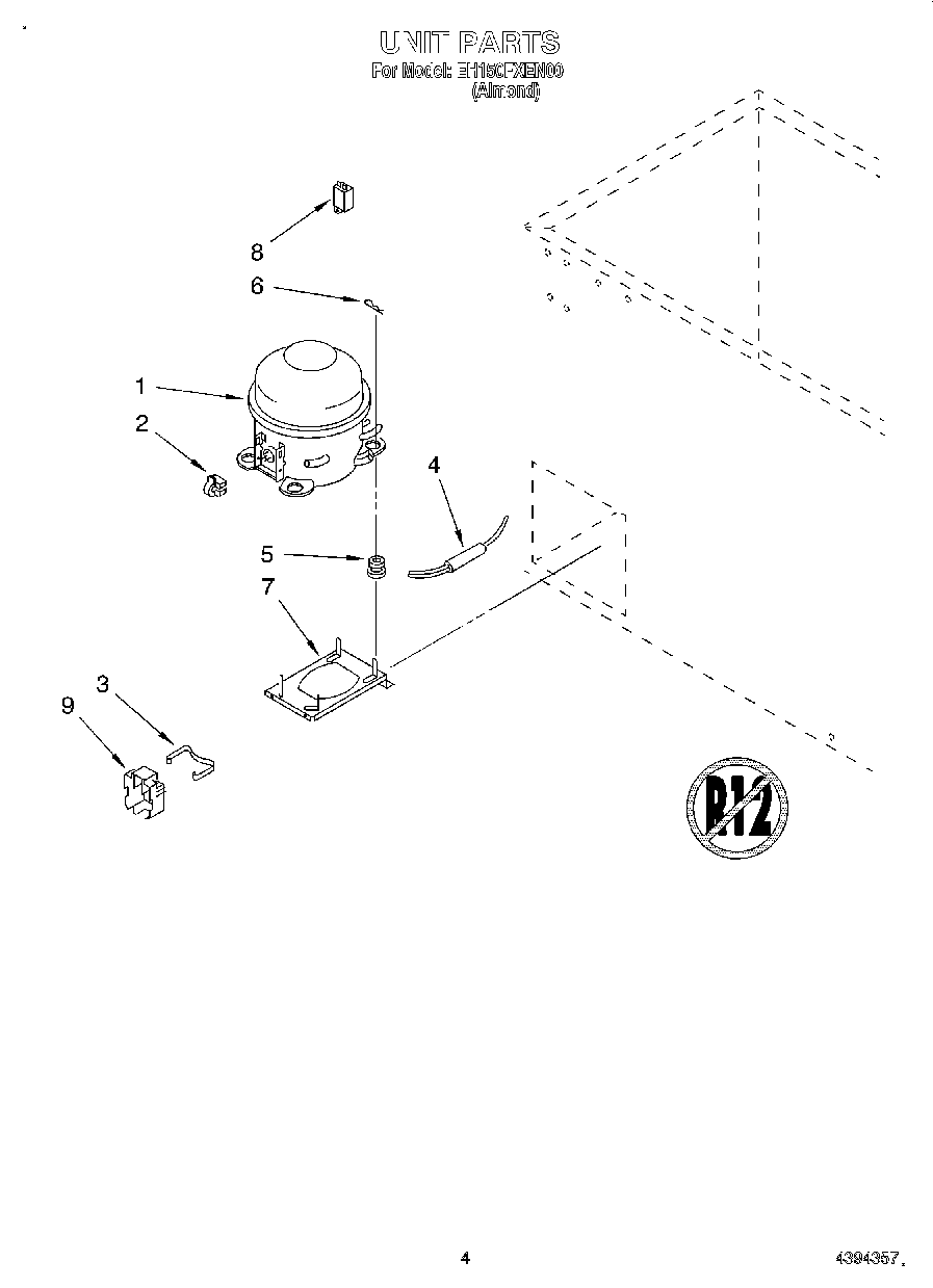
EH150FXEN00 03 – SECTIONadmin2025-04-26T10:34:07+00:00EH150FXEN00 03 – SECTION ProductsPositionProduct1Compressor (Includes Items 2, 3, 4, 5, 6 & 9)2Relay3Clip, Cover4W10843121 Whirlpool Refrigerator Tube5Grommet, Mounting Compressor6Clip, Hitch Pin7Base, Compressor8WPW10662129 Whirlpool Refrigerator Run Capacitor9Cover