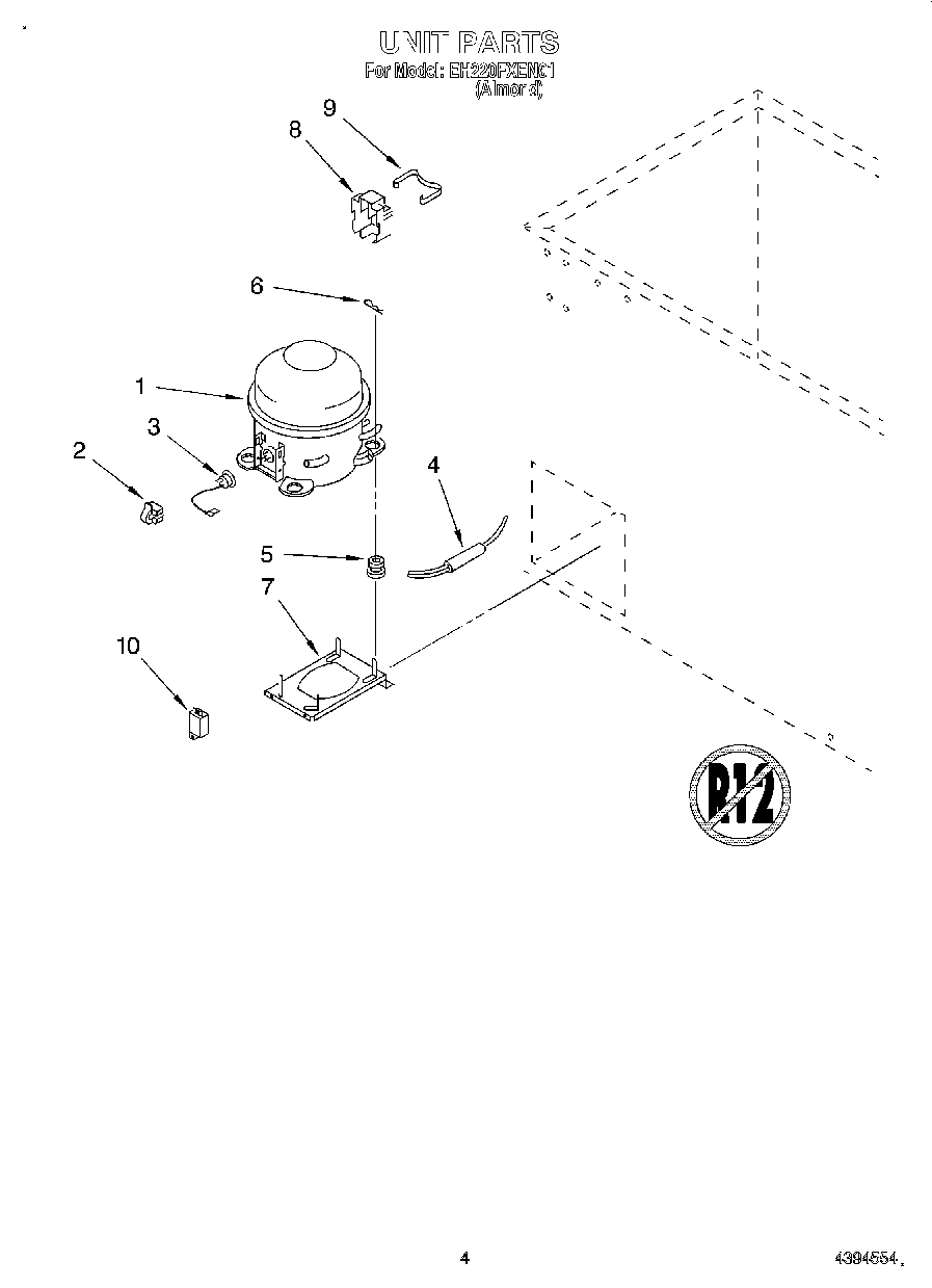
EH220FXEN01 03 – SECTIONadmin2025-04-26T09:48:26+00:00EH220FXEN01 03 – SECTION ProductsPositionProduct1W10309994 Whirlpool Refrigerator Compressor2Relay3Overload4W10843121 Whirlpool Refrigerator Tube5Grommet, Mounting Compressor6Clip, Hitch Pin7Base, Compressor8Cover9Clip, Cover10WPW10662129 Whirlpool Refrigerator Run Capacitor