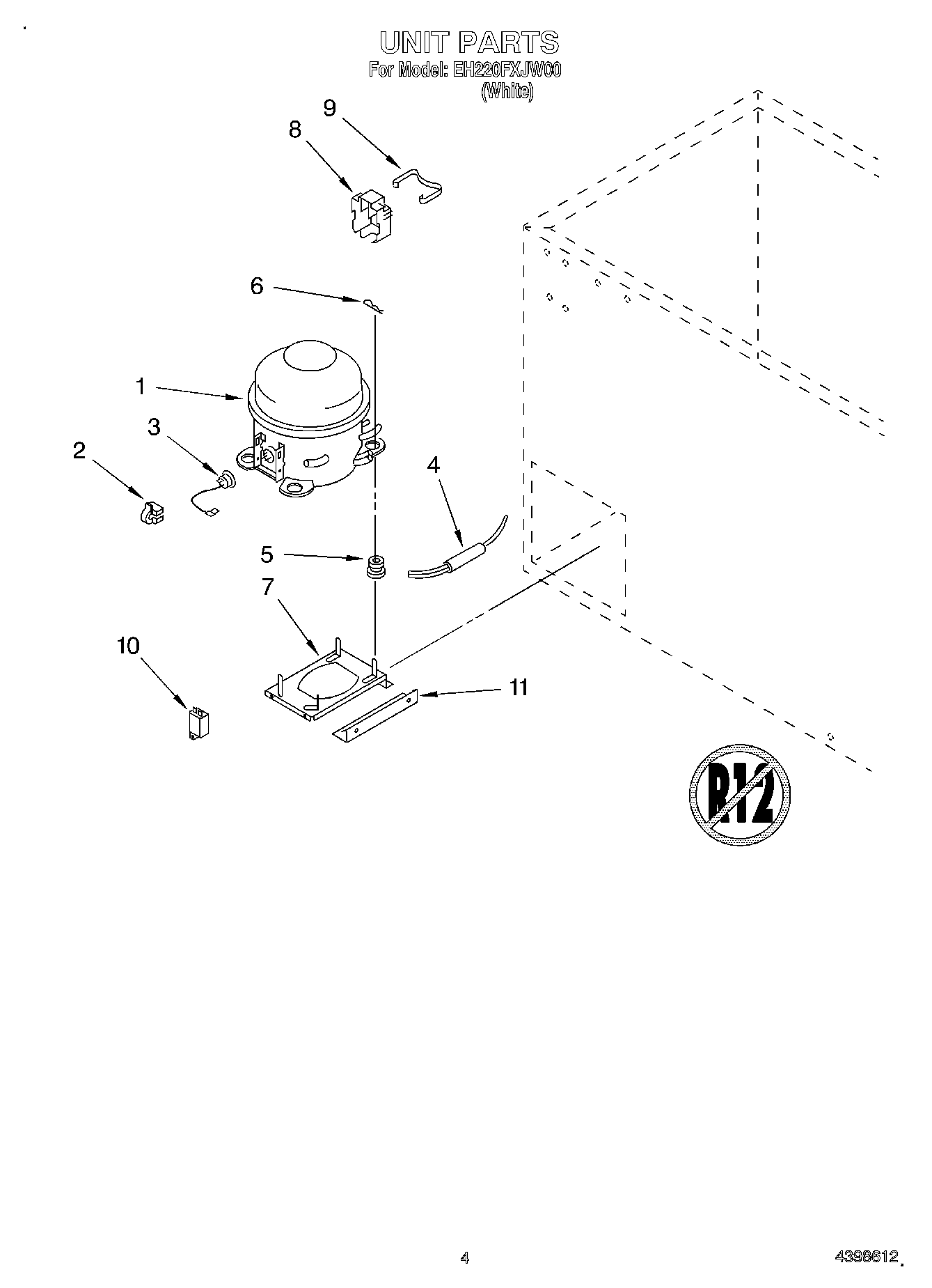
EH220FXJW00 03 – SECTION