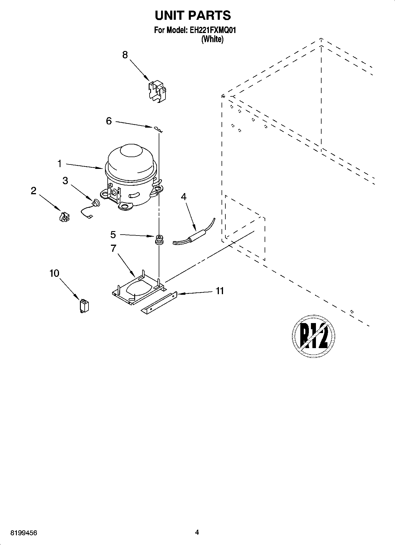
EH221FXMQ01 03 – UNIT PARTSadmin2025-04-26T09:47:54+00:00EH221FXMQ01 03 – UNIT PARTS ProductsPositionProduct1W10309994 Whirlpool Refrigerator Compressor2Relay32-34286-021 Whirlpool Refrigerator Overload Relay4W10843121 Whirlpool Refrigerator Tube5Grommet, Mounting Compressor6Clip, Hitch Pin7Base, Compressor84356777 Whirlpool Term Cover10Capacitor113-81556-001 Whirlpool Brace11REFRIGERANT CHARGE 4.8 oz. (R-134A)